Qingdao Ruichen Sealing Technology Co., Ltd.
Qingdao Ruichen Sealing Technology Co., Ltd.
Táirgeacht
X

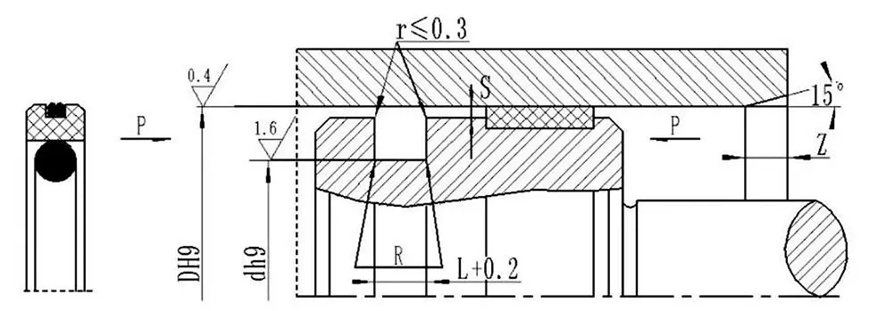
Cineál AQ Séala Comhdhúil PTFE

Más spéis leat Séala Comhdhúile AQ Cineál PTFE de chuid Ruichen Seal a cheannach, cuirimid roghanna saincheaptha ábhar an-solúbtha ar fáil: is féidir leaistiméirí a roghnú ó raon leathan rubair, lena n-áirítear NBR agus FKM. Chomh maith le PTFE3 caighdeánach, tacaíonn fáinní séalaithe freisin le héagsúlacht ábhar innealtóireachta, lena n-áirítear PTFE1 / PTFE2 / PTFE4.

Tá Séala Comhdhúil AQ Cineál PTFE inoiriúnaithe go forleathan do mheáin éagsúla, teochtaí agus coinníollacha oibre, ag feabhsú go mór comhoiriúnacht agus saol seirbhíse an chórais ina saothraítear rónta.


Coinníollacha oibre is infheidhme

Brú Mpa

Teocht ℃

Luas m/s

Meánach

≤40

-35~+100 (NBR)

≤2

Ola hiodrálacha, eibleacht, uisce, gás, etc.

-20~+200 (FKM)


Roghnú Ábhar

1. Ábhair elastomer atá ar fáil: R01 rubar nítríle (NBR), RO2 fluororubber (FKM), etc.

2. Ábhar Fáinne Séalaithe: Ábhar caighdeánach: PTFE3; ábhair eile atá ar fáil: PTFE1, PTFE2, agus PTFE4.

Sampla Ordaithe AQ080080 x64.5x6.3(DxdxL)PTFE3-RO1 PTFE3 RO1-Cód Ábhar



Hot Tags: Cineál AQ Séala Comhdhúil PTFE
Seol Fiosrúchán
Eolas teagmhála
Faigh praghsanna iomaíocha, tacaíocht theicniúil, agus freagairtí gasta. Seol do shonraíochtaí chuig ruichen le haghaidh réitigh rónta oiriúnaithe. Samplaí saor in aisce ar fáil.
X
Úsáidimid fianáin chun eispéireas brabhsála níos fearr a thairiscint duit, chun anailís a dhéanamh ar thrácht an tsuímh agus chun inneachar a phearsantú. Trí úsáid a bhaint as an suíomh seo, aontaíonn tú lenár n-úsáid a bhaint as fianáin. Beartas Príobháideachta
Diúltaigh Glac