Baintear úsáid as an bhfáinne coinneála i gcomhar leis an bhfáinne O-fáinne nó réalta chun cosc a chur ar an bhfáinne ina saothraítear an-bhrú isteach sa bhearna ar an taobh ísealbhrú faoi ghníomh an bhrú. De réir mar a mhéadaíonn an brú, déantar damáiste don fháinne ina saothraítear rónta trí "easbhrú" agus ar deireadh thiar ní theipeann air séala a dhéanamh. Má úsáidtear fáinne coinneála, is féidir cosc a chur ar "easbhrú" an fháinne ina saothraítear an séalaithe. Dá bhrí sin, is forlíonadh é an fáinne coinneála ar an bhfáinne ina saothraítear rónta. Ní séala é féin, ach méadaíonn sé raon brú oibre an fháinne ina saothraítear rónta.
Úsáidtear an fáinne coinneála i gcomhar leis an bhfáinne O chun é a chosc ó "easbhrú", an fáinne O a chosaint go héifeachtach, a shaol seirbhíse a mhéadú, agus bearna rónta níos mó a cheadú, rud a laghdaíonn costais phróiseála.
Gnéithe agus feidhmchláir táirge:
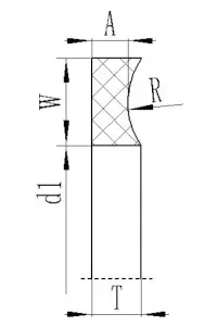
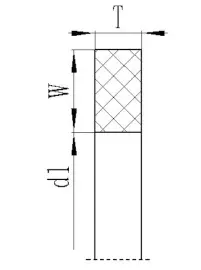
Foirm fáinne agus cineál struchtúir a choinneáil
Sonraí teicniúla
Brú oibre: Is féidir le séala statach teacht ar thart ar 200MPa (ag brath ar an ábhar agus an cineál séala den fháinne coinneála), is féidir le séala frithingeach teacht ar thart ar 40MPA. Is féidir le uainíocht luascáin/luais mall teacht ar thart ar 15MPa.
Luas: Is féidir le frithpháirtí agus uainíocht teacht ar thart ar 2m/s (ag brath ar an ábhar).
Caighdeáin a Ordú
(1) Tá fáinní coinnithe sraith T01 comhdhéanta de D1 trastomhas istigh, leithead W agus tiús T.
Sampla: T01-00356 D1: 3.56*W: 1.35*t: 1.23
.
Sampla: T02-027 D1: 33.78*W: 1.35*A: 1.14*t: 1.24



Seoladh
Uimh.1 Bóthar Ruichen, Páirc Tionscail Dongliuting, Chengyang Dúiche, Cathair Qingdao, Cúige Shandong, an tSín
Teil
R-phost