Qingdao Ruichen Sealing Technology Co., Ltd.
Qingdao Ruichen Sealing Technology Co., Ltd.
Táirgeacht
X

Fáinne cuimilteora

Tá an séala deannaigh meascán dúbailte-lip a sheol Ruichen Seal (monaróir agus soláthróir róin slat loine aitheanta sa tSín) comhdhéanta de fháinne séalaithe PTFE líonta agus fáinne O. Tá feidhmeanna cosanta deannaigh dhá bhealach agus cúitimh caitheamh uathoibríoch aige, frithchuimilt íseal, saolré fada agus inoiriúnaitheacht láidir, agus úsáidtear go forleathan é i gcásanna éagsúla tairiscint thionsclaíoch, mar shampla cómhalartú, luascadh agus bíseach.

Feidhmíocht agus Feidhmchláir

Is é an séala cuimilteora teaglaim dúbailte-liopa ná séala cuimilteora déthreo atá comhdhéanta de fháinne cuimilteora liopa dúbailte líonta PTFE agus fáinne O. Soláthraíonn an O-fáinne réamh-ualach, mar chúiteamh ar chaitheamh ar an bhfáinne PTFE. Tá sé oiriúnach do ghluaiseachtaí cómhalartacha, ascalacha nó bíseacha.


Coinníollacha Oibriúcháin

Brú Mpa

Teocht °C

Luas m/s

Meánach

-

-35~+100 (ag meaitseáil O-ring NBR)

6

Ola hiodrálacha, eibleacht, uisce, etc.

-20~+200 (ag meaitseáil FKM O-ring)


Sampla Ordaithe

Samhail Ordú RCF02-80-PTFE3-R01

RCF02 - Samhail 80 - Trastomhas Seafta PTFE3 - Athraithe Ginearálta Cuspóir PTFE RO1 - Comhoiriúnú Cód Ábhar Rubair

Nítríle (NBR) - R01, Fluaracarbón (FKM) - RO2

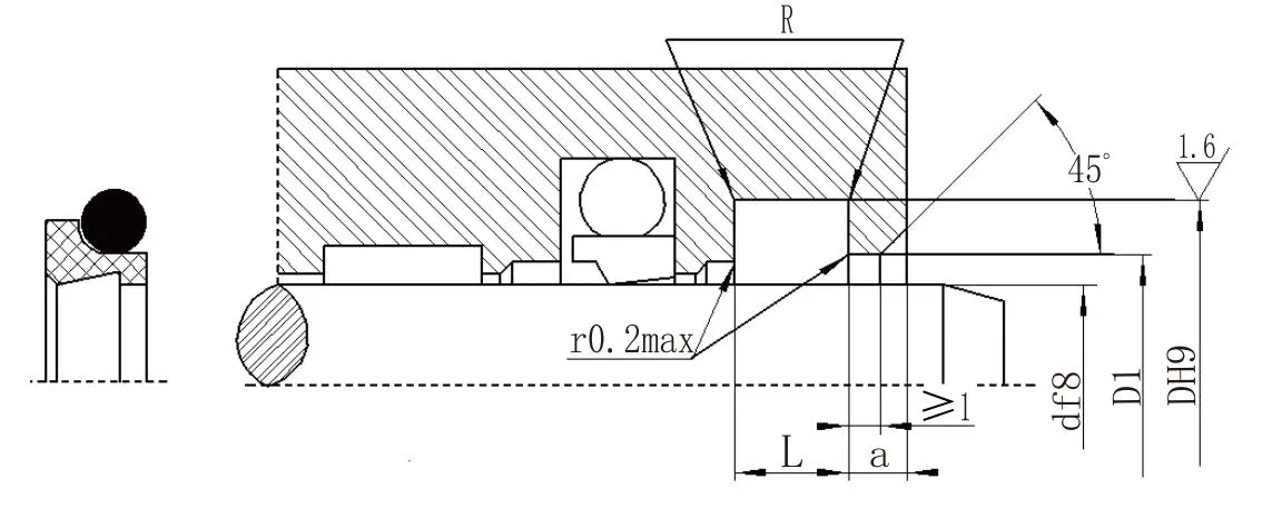
Tábla paraiméadar sonraíochta (is féidir táirgí ar aon mhéid laistigh den raon paraiméadair a sholáthar)

Raon trastomhas seafta d f8

Trastomhas groove D H9

Leithead groove L+0.2

Trastomhas poll oscailte

D1H11

Leithead poll oscailte a≥

Coirnéil chothromú R≤

Trastomhas sreang O-fáinne

d0

4~11

d+4.8

3.7

d+1.5

2

0.4

1.80

12~64

d+6.8

5.0

d+1.5

2

0.7

2.65

65~250

d+8.8

6.0

d+1.5

3

1.0

3.55

251~420

d+12.2

8.4

d+2.0

4

1.5

5.30

421~650

d+16.0

11.0

d+2.0

4

1.5

7.00

651~1500

d+20.0

14.0

d+2.5

5

2.0

8.60


Hot Tags: Fáinne cuimilteora
Seol Fiosrúchán
Eolas teagmhála
Faigh praghsanna iomaíocha, tacaíocht theicniúil, agus freagairtí gasta. Seol do shonraíochtaí chuig ruichen le haghaidh réitigh rónta oiriúnaithe. Samplaí saor in aisce ar fáil.
X
Úsáidimid fianáin chun eispéireas brabhsála níos fearr a thairiscint duit, chun anailís a dhéanamh ar thrácht an tsuímh agus chun inneachar a phearsantú. Trí úsáid a bhaint as an suíomh seo, aontaíonn tú lenár n-úsáid a bhaint as fianáin. Beartas Príobháideachta
Diúltaigh Glac