Qingdao Ruichen Sealing Technology Co., Ltd.
Qingdao Ruichen Sealing Technology Co., Ltd.
Táirgeacht
X

Séala cuimilteora GP6

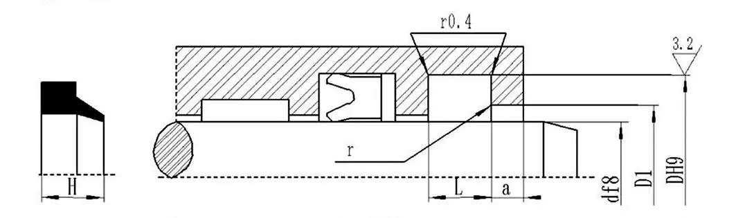
Mar mhonaróir tosaigh agus soláthraí rónta slat loine sa tSín, tá fáinne deannaigh GP6 Ruichen Seals deartha go sonrach le haghaidh slata loine trastomhas mór. Déanta as rubar nítríle (NBR) (fluororubber (FKM) roghnach le haghaidh coinníollacha ardteochta), blocann sé go héifeachtach cur isteach truailleán, tá friotaíocht caitheamh den scoth agus inoiriúnaitheacht comhshaoil ​​aige, agus feabhsaíonn sé go mór iontaofacht agus saol seirbhíse na rónta córais hiodrálacha.

Úsáidtear cuimilteoirí GP6 chun éillithe a chosc ó dhul isteach i gcórais hiodrálacha agus séalaithe. Déanta as NBR (rubar nítríle), nó FKM (rubar fluairínithe) le haghaidh feidhmeanna ardteochta, úsáidtear iad go príomha le haghaidh slata loine trastomhas mór-shéalaithe deannaigh.


Brú Mpa

Teocht °C

Luas m/s

Meánach

-

-35~+100 (NBR)

1

Ola hiodrálacha, eibleacht, uisce, etc.

-20~+200 (FKM)


Modh marcála GP6-70*80.6*5.3/7 Model-d*D*L/H



Hot Tags: Séala cuimilteora GP6
Seol Fiosrúchán
Eolas teagmhála
Faigh praghsanna iomaíocha, tacaíocht theicniúil, agus freagairtí gasta. Seol do shonraíochtaí chuig ruichen le haghaidh réitigh rónta oiriúnaithe. Samplaí saor in aisce ar fáil.
X
We use cookies to offer you a better browsing experience, analyze site traffic and personalize content. By using this site, you agree to our use of cookies. Privacy Policy
Reject Accept