Clúdaíonn ár sraith ardbhrú Rothlach Seals éagsúlacht táirgí ardfheidhmíochta, lena n-áirítear RC2051, RC2052, RC2053, RC2054, RCX17, RCX18, RDI, RDA, RCS agus RC2057, atá deartha le haghaidh timpeallachtaí iontógála agus rothlacha atá deartha le haghaidh timpeallachtaí iontógála agus rothlacha rothlacha agus rothlacha.
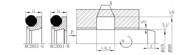
Baineann an tsraith RC2051 úsáid as meascán de fháinní séala fiacla PTFE líonta agus fáinní O le haghaidh séalaithe aontreo. Tá frithchuimilt íseal agus tréithe ard-rónta aige agus tá sé roinnte i gcineál caighdeánach (RC2051-B) agus cineál ardluais (RC2051-G).
Tá fáinní róin chearnógacha le sraitheanna stórála ola, atá oiriúnach do shéalaithe déthreoch hiodrálacha, sa tsraith RC2052 agus RC2054. Tá an struchtúr dlúth agus tacaíonn sé le timpeallacht brú uisce.
Tá an tsraith RCX17 agus RCX18 déanta as ábhair PU ardfheidhmíochta, le dearadh trasghearrtha fiacla le haghaidh suiteáil éasca. Tá siad oiriúnach do shaft rothlach agus do shéalú poll rothlach, agus tá an dearadh groove inmhalartaithe.
Tá an tsraith RDI agus RDA comhdhéanta de fháinní saothraithe PTFE, fáinní tacaíochta plaisteacha L-chruthach agus fáinní O, atá oiriúnach do shéalaithe débhrú, íseal-luais, rothlach rothlach, friotaíocht ardbhrú, cuimilt íseal agus saol fada.
Tá cnámharlach miotail agus liopa séalaithe PTFE, atá oiriúnach do choinníollacha casta oibre i sraith RCS PTFE PTFE, atá oiriúnach do choinníollacha casta oibre.
Tá Séala Ola PTFE Sraith RC2057 deartha le haghaidh ócáidí speisialta nach féidir le rónta ola traidisiúnta teacht le chéile.
Soláthraíonn an tsraith RC2065 séala brú aontreo do shafts rothlacha, le struchtúr simplí agus suiteáil éasca. Is féidir leis na hábhair a bheith ina rubar nítríle (NBR) nó flororubber (FKM).
Tá saintréithe an tsaoil ard, cuimilte íseal, rónta den scoth agus struchtúr dlúth ag rónta éagsúla Ruichen Seal. Úsáidtear iad go forleathan i gcórais hiodrálacha, i dtrealamh neomatach, i dtrealamh brú uisce, i n-innealra rothlach ardbhrú agus i dtrealamh tionsclaíoch, etc., ag soláthar réitigh rónta ardfheidhmíochta iontaofa duit.
Gnéithe agus feidhmchláir táirge:
Gnéithe Táirgí:
Saol fada: Leathnaíonn ábhair ardcháilíochta agus dearadh struchtúrach saol na seirbhíse.
Frithchuimilt íseal: Laghdaíonn ábhair PTFE agus PU friotaíocht reatha agus feabhas a chur ar éifeachtúlacht.
Séalaithe maith: Cinntíonn dearadh umar stórála liopa agus ola speisialta feidhmíocht shéalaithe den scoth.
Struchtúr dlúth: Dearadh spáis bheaga, atá oiriúnach do thimpeallachtaí suiteála éagsúla.
Infheidhme go forleathan: Oiriúnach do hiodrálacha, aeir, brú uisce agus brú ard, luas ard, luas íseal agus dálaí oibre eile.
Limistéir Iarratais:
Córas hiodrálach, trealamh neomatach, trealamh brú uisce.
Innealra rothlach ardbhrú, trealamh ualach trom-luais ar luas íseal.
Trealamh tionsclaíoch, innealra innealtóireachta, gluaisteán agus aeraspáis agus réimsí eile.
Roghnú ábhair:
1. Is féidir an t-ábhar meaitseála O-fáinne a roghnú: R01 Rubber nítríle (NBR), R02 Fluororubber (FKM), etc.
2. Ábhar fáinne a shéalú: ábhar caighdeánach PTFE4, ábhair roghnacha eile PTFE1, PTFE2, PTFE3, PTFE5.
RCX18 Ábhar: HPU.
Léaráid struchtúrtha

Múnla Ordaithe RC2052-80X91X4.2-PTFE3-RO1 MODEL-DXDXL-MODES ORDUITHE RCX17-80X91X4.2-HPU Cód Samhail-DXDXL-Ma-Ábhair
Múnla Ordaithe RC2054-80X69X4.2-PTFE3-RO1 MODEL-D*D*Múnla Ordú Cód L-Ma-Ábhar RCX18-80X69X4.2-HPU Samhail-D*D*Cód L-Material L-Material
Toisí suiteála RDI
| DF8 | Dh9 | L D10 | H | Bearna s | |
| 0-10MPA | 10-36MPA | ||||
| 50-79 | D+10 | 5 | 4.5 | 0.4-0.3 | 0.3-0.25 |
| 80-109 | D+13.8 | 7.5 | 7 | 0.45-0.35 | 0.35-0.3 |
| 110-299 | D+20 | 10 | 9.5 | 0.55-0.45 | 0.45-0.35 |
| 300-600 | D+24 | 13 | 12.5 | 0.6-0.55 | 0.55-0.45 |
| > 600 | Téigh i gcomhairle lenár gcuideachta le do thoil | ||||
Fad Chamfer
| Raon trastomhas slaite | Fad Chamfer E≥ |
| 50-56 | 6 |
| 57-100 | 7 |
| 101-290 | 10 |
| 291-600 | 15 |
RDA Toisí suiteála
| Dh8 | Dh9 | L D10 | H | Bearna s | |
| 0-10MPA | 10-36MPA | ||||
| 50-124 | D-16 | 8 | 7.5 | 0.45-0.35 | 0.35-0.3 |
| 125-199 | D-20 | 10 | 9.5 | 0.55-0.45 | 0.45-0.35 |
| 200-600 | D-26 | 13 | 12.5 | 0.6-0.55 | 0.55-0.45 |
Fad Chamfer
| Raon trastomhas slaite | Fad Chamfer E≥ |
| 50-95 | 7 |
| 96-190 | 10 |
| 191-300 | 12 |
| 301-600 | 15 |
RCS Cineál Pt Fe Fe Power Séala Ola (Séala Ola PTFE)
RC2057 Cineál Séala Ola Pt Fe Iomlán
Cineál RCS Tá séala ola cumhachta PTFE comhdhéanta de fhráma miotail, liopa séalaithe PTFE agus séala statach inmheánach. Tá sé roinnte i gcineál, cineál B, cineál C, cineál D, srl. RC2057 Cineál Tá séala ola iomlán PTFE roinnte i gcineál agus i gcineál B, go háirithe oiriúnach le haghaidh ócáidí nuair nach féidir le rónta ola traidisiúnta na riachtanais a chomhlíonadh. Gnéithe:
1. Friotaíocht Creimthe Ceimiceach
2. Raon teochta leathan
3. Oiriúnach do bhealaithe íseal agus bealaithe saor ó ola
4. Frithchuimilt íseal chun íos -thomhaltas cumhachta a bhaint amach
5. Oiriúnach do luas ardlíne
6. Gan aon ghreamú, friotaíocht íseal go tosaithe tar éis múchadh fadtéarmach
7. Oiriúnach do shafts rothlacha nach bhfuil cruaite (roghnú réasúnta de liopa PTFE)
8. Oiriúnach le haghaidh ócáidí le brú níos airde
Ⅰ. Iarratais tipiciúla:
Comhbhrúiteoirí rothlacha, comhbhrúiteoirí scriú, tarchur/giarbhoscaí, séidirí, innill, caidéil uirlisí meaisín, mótair hiodrálacha, lártheifneoirí, etc.
Ⅱ. Riachtanais chruas le haghaidh dromchlaí cúplála
Cruas molta: HRC ≥ 58. Baineann an chruas riachtanach le go leor fachtóirí. Tá sloic bhoga rothlacha infheidhme freisin i gcásanna brú íseal agus i gcásanna ísealluais. Moltar plátaí liopa PTFE6 do mhiotail bhoga.
Ⅲ. Riachtanais cháilíochta le haghaidh dromchlaí cúplála
RA = 0.2-0.63 A RZ = 1-3UM RMAX = 1-4um
| Cruth trasghearrthach | Múnla | Brú (MPA) | Teocht (℃) | Luas (m/s) | Meánach |
|
RCS-A | 0.5 | -35 ~+200 | 40 | Ola, gás, uisce, etc. |
|
RCS-B | 2 | -35 ~+200 | 20 | Ola, gás, uisce, etc. |
|
RCS-C | 1 | -35 ~+200 | 20 | Ola, gás, uisce, etc. |
|
RCS-D | 2 | -35 ~+200 | 20 | Ola, gás, uisce, etc. |
|
RC2057-A | 0.5 | -35 ~+200 | 30 | Beagnach gach meán |
|
RC2057-B | 2 | -35 ~+200 | 20 | Beagnach gach meán |
Ⅳ. Pátrún sreafa bíseach cumhachta sreabhach:
Glacann cineál RCS-D pláta lipéad le struchtúr patrún sreafa bíseach chun an cumas ina saothraítear rónta a fheabhsú. Ní cheadaítear don seafta rothlach ach rothlú i dtreo amháin.
RC20658 Toisí suiteála
| Múnla | DF8 | Dh9 | L D10 | SMax |
| RC2065A | 400-3000 | D+16.8 | 15.1 | 1.2 |
| RC2065 | 400-3000 | d+17.5 | ||
| > 3000 | Téigh i gcomhairle lenár gcuideachta le do thoil | |||
Fad Chamfer
| Raon trastomhas slaite | Fad Chamfer E≥ |
| 400-1000 | 15 |
| 1001-2000 | 20 |
| 2001-3000 | 25 |
Sonraíochtaí agus toisí:
| D F8 Caighdeánach RC2051 | D F8 Ualach éadrom RC2051-Q | D F8 Uachríoch trom RC2051-Z | D H9 | L+0.2 | L1 | RMAX | Smaithe | Zmí Miannach | d0 | ||
| <10MPA | <20MPA | <40MPA | |||||||||
| - | 5 ~ 15.9 | - | D+4.5 | 3. 1 | 2.8 | 0.3 | 0.3 | 0.2 | 0. 15 | 3 | 1.8 |
| 5 ~ 15.9 | 16 ~ 38.9 | - | D+6.3 | 4.0 | 3.7 | 0.4 | 0.4 | 0.25 | 0. 15 | 4 | 2.65 |
| 16 ~ 38.9 | 39 ~ 107.9 | 5 ~ 15.9 | D+8.2 | 5.2 | 4.7 | 0.4 | 0.4 | 0.25 | 0.2 | 5 | 3.55 |
| 39 ~ 107.9 | 108 ~ 670.9 | 16 ~ 38.9 | d+11.7 | 7.6 | 7. 1 | 0.5 | 0.5 | 0.3 | 0.2 | 7 | 5.30 |
| 108 ~ 670.9 | 671 ~ 999 | 39 ~ 107.9 | d+15.5 | 9.6 | 8.9 | 0.6 | 0.6 | 0.35 | 0.25 | 10 | 7.00 |
| 671 ~ 999 | 1000 ~ 1599 | 108 ~ 670.9 | d+19.4 | 12. 1 | 11.3 | 0.7 | 0.7 | 0.5 | 0.3 | 12 | 8.60 |
| 1000 ~ 1599 | ≥1600 | 671 ~ 999 | D +22 | 14.8 | 13.5 | 0.8 | 0.8 | 0.6 | 0.4 | 15 | 10.0 |
| ≥1600 | - | 1000 ~ 1599 | D+26 | 17.8 | 16.3 | 1.0 | 1.0 | 0.7 | 0.6 | 20 | 12.0 |
Nóta: 1. I gcás trastomhas seafta ≤30mm, moltar go n -úsáidfí groove oscailte. Tá sé níos éasca an cineál ualaigh solais a shuiteáil i groove dúnta.
2. Moltar go bhfuil cruas dromchla na seafta rothlach HRC> 58.
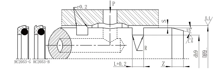
RC2053
| Raon cró D H9 | Trastomhas groove D H9 | Leithead groove L+0.2 | Airde séala L1 | Coirnéil chothromaithe RMAX | Imréiteach gathach s | Tú eile Zmí Miannach | Trastomhas sreinge o-fáinne D0 | ||
| <10MPA | <20MPA | <40MPA | |||||||
| 8 ~ 12 | D-4.5 | 3.1 | 2.8 | 0.3 | 0.3 | 0.2 | 0.15 | 3 | 1.8 |
| 13 ~ 24 | D-6.3 | 4 | 3.7 | 0.4 | 0.4 | 0.25 | 0.15 | 4 | 2.65 |
| 25 ~ 51 | D-8.2 | 5.2 | 4.7 | 0.4 | 0.4 | 0.25 | 0.2 | 5 | 3.55 |
| 52 ~ 127 | D-11.7 | 7.6 | 7.1 | 0.5 | 0.5 | 0.3 | 0.2 | 7 | 5.30 |
| 128 ~ 500 | D-15.5 | 9.6 | 8.9 | 0.6 | 0.6 | 0.35 | 0.25 | 10 | 7.00 |
| 501 ~ 1600 | D-13.4 | 12.1 | 11.3 | 0.7 | 0.7 | 0.5 | 0.3 | 12 | 8.6 |
Tabhair faoi deara: Moltar groove oscailte.
RC2052
| Raon trastomhas seafta D F8 | Trastomhas groove D H9 | Leithead groove L+0.2 | Imréiteach gathach smaithe | Coirnéil chothromaithe Rmaithe | Caolafoirt Zmí Miannach | |
| 0 ~ 10MPA | 10 ~ 20MPA | |||||
| 6 ~ 18 | D+4.9 | 2.2 | 0.15 | 0.1 | 0.4 | 2 |
| 19 ~ 37 | D+7.5 | 3.2 | 0.2 | 0.15 | 0.6 | 3 |
| 38 ~ 199 | d+11.0 | 4.2 | 0.25 | 0.2 | 1.0 | 4 |
| 200 ~ 255 | d+15.5 | 6.3 | 0.3 | 0.25 | 1.3 | 5 |
| 256 ~ 649 | D+21.0 | 8.1 | 0.3 | 0.25 | 1.8 | 7 |
| 650 ~ 1500 | d+28.0 | 9.5 | 0.45 | 0.3 | 2.0 | 8 |
Tabhair faoi deara: Moltar groove oscailte.
2. Le haghaidh brúnna> 30 MPa, úsáideann an limistéar fréimhe róin lamháltas H8/F8.
RC2054| Raon cró D H9 | Trastomhas groove D H9 | Leithead groove L+0.2 | Imréiteach gathach smaithe | Coirnéil chothromaithe Rmaithe | Caolafoirt Zmí Miannach | |
| 0 ~ 10MPA | 10 ~ 20MPA | |||||
| 8 ~ 39 | D-4.9 | 2.2 | 0.15 | 0.1 | 0.4 | 2 |
| 40 ~ 79 | D-7.5 | 3.2 | 0.2 | 0.15 | 0.6 | 3 |
| 80 ~ 132 | D-11.0 | 4.2 | 0.25 | 0.2 | 1.0 | 4 |
| 133 ~ 329 | D-15.5 | 6.3 | 0.3 | 0.25 | 1.3 | 5 |
| 330 ~ 669 | D-21.0 | 8.1 | 0.3 | 0.25 | 1.8 | 7 |
| 670 ~ 1500 | D-28.0 | 9.5 | 0.45 | 0.3 | 2.0 | 8 |
| Cuir i bpróifíl | Múnla | Brú (MPA) | Teocht (℃) | Luas tagartha (m/s) |
Tagairt PV Luach Mpa.m/s | Na meán |
|
RC2051-B | ≤70 (caighdeán) | -35 ~+100 (Meaitseála O-Ring NBR) | <2 | ≤5 | Ola hiodrálacha, eibleacht, uisce, gás, etc. Ola hiodrálacha, eibleacht, uisce, gás, etc. |
| ≤30 (luas ard) | -20 ~+200 (FKM O-fáinne a mheaitseáil) | <6 | ||||
|
RC051-G | ≤70 (caighdeán) | -35 ~+100 (Meaitseála O-Ring NBR) | <2 | ≤5 | Ola hiodrálacha, eibleacht, uisce, gás, etc. Ola hiodrálacha, eibleacht, uisce, gás, etc. |
| ≤30 (luas ard) | -20 ~+200 (FKM O-fáinne a mheaitseáil) | <6 | ||||
|
RC2053-B | ≤70 (caighdeán) | -35 ~+100 (Meaitseála O-Ring NBR) | <2 | ≤5 | Ola hiodrálacha, eibleacht, uisce, gás, etc. Ola hiodrálacha, eibleacht, uisce, gás, etc. |
| ≤30 (luas ard) | -20 ~+200 (FKM O-fáinne a mheaitseáil) | <6 | ||||
|
RC2053-G | ≤70 (caighdeán) | -35 ~+100 (Meaitseála O-Ring NBR) | <2 | ≤5 | Ola hiodrálacha, eibleacht, uisce, gás, etc. Ola hiodrálacha, eibleacht, uisce, gás, etc. |
| ≤30 (luas ard) | -20 ~+200 (FKM O-fáinne a mheaitseáil) | <6 | ||||
|
RC2052 | ≤40 | -35 ~+100 (Meaitseála O-Ring NBR) | ≤2 | ≤2.5 | Ola hiodrálacha, eibleacht, uisce, gás, etc. Ola hiodrálacha, eibleacht, uisce, gás, etc. |
| -20 ~+200 (FKM O-fáinne a mheaitseáil) | ||||||
|
RCX17 | ≤20 | -35 ~+100 | ≤0.5 | - | Ola hiodrálacha, eibleacht, uisce, gás, etc. |
|
RC2054 | ≤40 | -35 ~+100 (Meaitseála O-Ring NBR) | ≤2 | - | Ola hiodrálacha, eibleacht, uisce, gás, etc. Ola hiodrálacha, eibleacht, uisce, gás, etc. |
| -20 ~+200 (FKM O-fáinne a mheaitseáil) | ||||||
|
RCX18 | ≤20 | -35 ~+100 | ≤0.5 | - | Ola hiodrálacha, eibleacht, uisce, gás, etc. |
|
RDI | <36 | -35 ~+100 | <0.5 | - | Ola hiodrálacha, eibleacht, uisce, gás, etc. |
|
RDA | <36 | -35 ~+100 | <0.5 | - | Ola hiodrálacha, eibleacht, uisce, gás, etc. |
|
RCS-A | 0.5 | -35 ~+200 | 40 | ≤6 | Ola, uisce, gás, etc. |
|
RCS-B | 2 | -35 ~+200 | 20 | ≤1 | Ola, uisce, gás, etc. |
|
RCS-C | 1 | -35 ~+200 | 20 | ≤6 | Ola, uisce, gás, etc. |
|
RCS-D | 2 | -35 ~+100 | 20 | ≤6 | Ola, uisce, gás, etc. |
|
RC2057-A | 0.5 | -35 ~+200 | 30 | ≤6 | Beagnach gach meán |
|
RC2057-B | 2 | -35 ~+200 | 20 | ≤6 | Beagnach gach meán |
|
RC2065 | 1 | -35 ~+200 | 6 | ≤1 | Ola hiodrálacha, eibleacht, uisce, ramhar, srl. |































































































Seoladh
Uimh.1 Bóthar Ruichen, Páirc Tionscail Dongliuting, Chengyang Dúiche, Cathair Qingdao, Cúige Shandong, an tSín
Teil
R-phost