Tá rónta hiodrálacha le haghaidh poill loiní, inár n -ionad monarchan agus T&F, samhlacha agus cineálacha fo -roinnte, gach ceann acu a bhfuil a thréithe féin acu, ach tá rialú dian cáilíochta bainte amach againn.
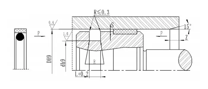
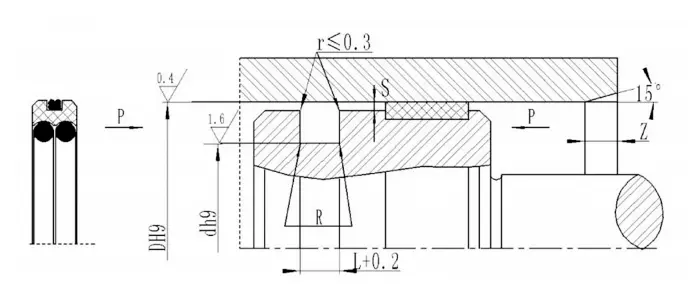
Tá RC61 agus RC62 comhdhéanta de fháinne rónta dronuilleogach PTFE PTFE agus fáinne rubair O-chruthach, atá oiriúnach le haghaidh séalaithe brú déthreoch gluaisne hiodrálach. Tá RC61-B comhdhéanta de fháinne líonta Séalaithe PTFE agus fáinne rubair O-chruthach, atá oiriúnach do ghluaisne frithingeach hiodrálach ina saothraítear brú aontreoch. Is séala cúltaca tromshaothair é RC62-B, atá oiriúnach chun séala brú aontreoch a shéalú. Soláthraíonn an O-fáinne fórsa gathach agus cúitíonn sé caitheamh an fháinne ina saothraítear rónta. Is iondúil go n -úsáidtear é i gcomhar le fáinne treorach do threalamh trom hiodrálach. Ba chóir grooves scoilte (oscailte) a úsáid le haghaidh sorcóirí le trastomhas níos lú ná 30mm. Gnéithe:
1. Frithchuimilt íseal, friotaíocht bheag tosaigh, gluaiseacht réidh, cuimilte dinimiciúil agus statach comhionann, gan aon chnagadh;
2. Cobhsaíocht an -ardbhrú faoi bhrú agus faoi choinníollacha géara;
3. Saol fada, is féidir é a úsáid le haghaidh rónta bealaithe saor ó ola;
Is féidir é a úsáid chun meáin íseal-slaodachta a shéalú mar uisce;
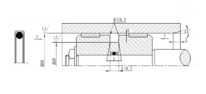
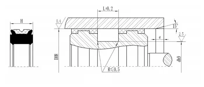
Tá OK comhdhéanta de fháinne séalaithe oscailte teirmeaplaisteach déanta as ábhar speisialta agus fáinne rubair dronuilleogach, atá oiriúnach do shéalú brú déthreoch hiodrálach. Soláthraíonn an fáinne rubair fórsa gathacha agus cúitíonn sé do chaitheamh an fháinne ina saothraítear rónta. Ós rud é go nglacann an fáinne ina saothraítear struchtúr oscailte, réitítear an fhadhb go bhfuil uirlisí speisialta le suiteáil ag teastáil ón bhfáinne Glyd. Gnéithe:
1. Frithchuimilt íseal, friotaíocht bheag tosaigh, gluaiseacht réidh, gan aon chnagadh;
2. Cobhsaíocht an -ardbhrú faoi bhrú agus faoi choinníollacha géara;
3. Suiteáil shimplí agus áisiúil, níl aon uirlisí tionóil ag teastáil;
Is féidir é a úsáid chun meáin íseal-slaodachta a shéalú mar uisce;
5. Feidhmíocht fhrith-mhaolaithe maith, ag ceadú bearna easbhrúite níos mó.
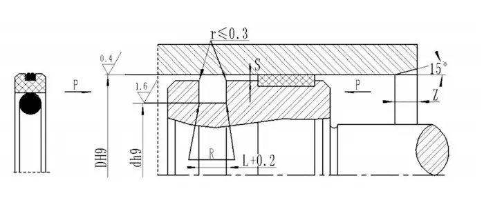
Tá RC63 comhdhéanta de fháinne ina saothraítear rónta caipín PTFE agus fáinne rubair O-chruthach, atá oiriúnach le haghaidh séalaithe brú déthreoch tadhlach hiodrálach agus neomatach. Soláthraíonn an fáinne O-chruthach fórsa gathach agus cúitíonn sé caitheamh an fháinne ina saothraítear rónta. Ós rud é go nglacann an fáinne ina saothraítear dearadh liopa tanaí, tá an cumas cúitimh leantach go maith, mar sin tá an fheidhmíocht ina saothraítear rónta go maith agus is féidir é a shuiteáil sa groove fáinne GB12350. Ba chóir grooves scoilte (oscailte) a úsáid le haghaidh trastomhais sorcóra níos lú ná 30mm. Gnéithe:
Is féidir é a úsáid le haghaidh hiodrálacha agus aeroibrithe araon, agus is féidir é a úsáid le haghaidh séalaithe brú déthreoch;
2. Frithchuimilt íseal, friotaíocht bheag tosaigh, gluaiseacht réidh, cuimilte dinimiciúil agus statach comhionann, gan aon chnagadh;
3. Saol fada, is féidir é a úsáid le haghaidh rónta bealaithe saor ó ola;
Spás beag struchtúrach, suiteáil agus cothabháil éasca;
Is é atá i KDAS, TPM (cruth speisialta) ná tionól séala loiní comhbhrúite cúig chomhcheangail ina bhfuil eilimint rónta rubair, dhá fháinne coinneála agus dhá fháinne treorach. Oiriúnach do shéalaithe loine brú déthreoch. Gnéithe:
1. Séalaithe maith, iontaofacht ard, struchtúr dlúth;
Ní chuirfear brú air sa bhearna gathacha;
3. Suiteáil shimplí, suiteáil loiní lárnach;
Cuireann cruth geoiméadrach speisialta na gné rónta NBR cosc air casadh sa groove le linn na suiteála.
Tá dhá fháinne treorach, dhá fháinne coinneála, fáinne rubair leaisteach agus fáinne ina saothraítear rónta ag GDKK. Imríonn an fáinne treorach ról suite agus treorach. Tá ról tacaíochta agus suímh ag an bhfáinne coinneála, soláthraíonn an fáinne rubair leaisteach fórsa leaisteach agus cúitíonn sé as an bhfáinne ina saothraítear an fáinne a chailleadh. Comhoibríonn an fáinne ina saothraítear ina shéalú le poll inmheánach an tsorcóra ola chun éifeacht ina shéalú a tháirgeadh, atá oiriúnach do shéalú brú déthreoch na loine sorcóra ola. Tá éifeacht mhaith ina saothraítear rónta aige fiú faoi choinníollacha oibre géara. Gnéithe:
1. Frithchuimilt íseal, friotaíocht bheag tosaigh, gluaiseacht réidh, cuimilte dinimiciúil agus statach comhionann, gan aon chnagadh;
2. Cobhsaíocht an -ardbhrú faoi bhrú agus faoi choinníollacha géara;
3. Is féidir an saol ard a úsáid chun séalaithe a dhéanamh i ndroch -choinníollacha bealaithe;
Is féidir é a úsáid chun meáin íseal-slaodachta a shéalú mar uisce;
Feidhmíocht shéalaithe ard -bhrú ard agus íseal -bhrú.
Tá RC64 comhdhéanta de fháinne séalaithe triantánach PTFE agus fáinne rubair O-fáinne, atá oiriúnach le haghaidh séalaithe brú aonbhealaigh hiodrálacha agus neomatach. Soláthraíonn an O-fáinne fórsa gathach agus cúitíonn sé caitheamh an fháinne ina saothraítear rónta. Ós rud é go nglacann an fáinne saothraithe dearadh liopa tanaí, tá an cumas cúitimh leantach níos fearr, mar sin tá an fheidhmíocht ina saothraítear rónta go maith. Ba chóir an groove scoilte (oscailte) a úsáid le haghaidh trastomhais sorcóra níos lú ná 30mm. Gnéithe:
Is féidir é a úsáid le haghaidh hiodrálacha agus aeir araon;
2. Frithchuimilt íseal, friotaíocht bheag tosaigh, gluaiseacht réidh, cuimilte dinimiciúil agus statach comhionann, gan aon chnagadh;
3. Saol fada, is féidir é a úsáid le haghaidh rónta bealaithe saor ó ola;
Spás beag struchtúrach, suiteáil agus cothabháil éasca;
Is meascán é SPG de fháinne séalaithe PTFE athraithe dronuilleogach agus fáinne rubair dronuilleogach mar ghné réamhualaigh. Tá na tréithe a bhaineann le dea -shéalú, cuimilte íseal agus spás beag struchtúrach.
Is meascán é RC66 de fháinne séalaithe PTFE modhnaithe dronuilleogach agus fáinne O-ocsaídithe mar eilimint réamhualaigh. Tá na tréithe a bhaineann le dea -shéalú, cuimilte íseal, agus spás beag struchtúrach. Tá sé oiriúnach do shorcóirí ola ardluais nó sorcóirí. Tá RC67 comhdhéanta de fháinne rónta dronuilleogach PTFE, dhá fháinne coinneála, agus leaistiméire ilchineálach, atá oiriúnach do shéalaithe brú déthreoch hiodrálach. Soláthraíonn an leaistiméire fórsa gathach agus cúitíonn sé an caitheamh an fháinne ina saothraítear ina shéalú. Cosnaíonn an fáinne coinneála an fáinne ina saothraítear rónta agus tá éifeacht mhaith ina saothraítear rónta fiú faoi choinníollacha oibre géara. Gnéithe:
1. Frithchuimilt íseal, friotaíocht bheag tosaigh, gluaiseacht réidh, cuimilte dinimiciúil agus statach comhionann, gan aon chnagadh;
2. Cobhsaíocht an -ardbhrú faoi bhrú agus faoi choinníollacha géara;
3. Is féidir an saol ard a úsáid le haghaidh rónta bealaithe saor ó ola;
Is féidir é a úsáid chun meáin íseal-slaodachta a shéalú mar uisce;
5. Feidhmíocht shéalaithe ardbhrú ard agus íseal -bhrú.
Tá RCEK comhdhéanta de shraith fáinní séalaithe V-chruthach, fáinne brú agus fáinne tacaíochta, agus tá sé oiriúnach do shéalú brú aontreo taisctheach hiodrálach. Caithfear ramhar a bheith comhoiriúnach leis an ábhar ina saothraítear rónta a chur i bhfeidhm le linn na suiteála. Ní féidir é a shuiteáil i groove lárnach (dúnta). Úsáidtear é le haghaidh rónta loine in ualaí meánacha agus troma. Gnéithe:
1. Tá éagsúlacht ábhar ar fáil, ar féidir iad a choigeartú go barrmhaith chun freastal ar chuspóirí éagsúla;
2. Is féidir é a úsáid i ndálaí oibre crua agus tá sé oiriúnach do bheagnach gach meán agus coinníollacha crua;
3. Tá saol fada seirbhíse aige agus is féidir é a úsáid le haghaidh rónta bealaithe saor ó ola (roghnú ábhar réasúnta);
4. Is féidir an fheidhmíocht ina saothraítear rónta a choigeartú, agus is féidir an méid aiseach a choigeartú trí fháinní saothraithe V-chruthach a chur leis nó a bhaint;
Féadann sé oibriú go héifeachtach fiú má tá an caighdeán dromchla ina saothraítear rónta bocht.
Tá RCKR comhdhéanta de fháinne séalaithe PU agus fáinne rubair dronuilleogach, atá oiriúnach do shéalú déthreoch tadhlach hiodrálach. Is táirge comhlántach é de tháirgí fáinne Glyd, le cumas séalaithe agus brú níos fearr ná Glyd Ring, agus is féidir é a shuiteáil gan cabhair ó uirlisí suiteála. A ghnéithe:
1. Feidhmíocht mhaith dinimiciúil agus shéalaithe statach;
2. Feidhmíocht ina saothraítear rónta ísealbhrú níos fearr ná fáinne Glyd, agus is féidir é a shuiteáil gan uirlisí suiteála;
3. Frithchuimilt íseal, friotaíocht bheag tosaigh, agus gluaiseacht réidh;
4. Saol fada, is féidir é a úsáid le haghaidh séala bealaithe saor ó ola;
Is féidir é a úsáid le haghaidh séalaithe brú déthreoch;
Cloíonn an groove suiteála le caighdeán ISO7425/1.
Tá RPW comhdhéanta de fháinne séalaithe PU-chruthach speisialta agus fáinne rubair O-chruthach, atá oiriúnach do shéalaithe brú déthreoch tadhlach hiodrálach. Soláthraíonn an O-fáinne fórsa gathach agus cúitíonn sé caitheamh an fháinne ina saothraítear rónta. Is iondúil go n -úsáidtear é i gcomhar le fáinne treorach. Gnéithe:
1. Frithchuimilt íseal, friotaíocht bheag tosaigh, gluaiseacht réidh, gan aon chnagadh;
2. Cobhsaíocht an -ardbhrú faoi bhrú agus faoi choinníollacha géara;
3. Feidhmíocht mhaith ina saothraítear rónta ag brúnna ard agus íseal;
Níl aon uirlisí suiteála ag teastáil le haghaidh suiteála.
Tá TDA agus TDMA comhdhéanta de elastomer rubair (nó polúireatán) múnlaithe agus fáinne séalaithe PTFE modhnaithe, agus tá tréithe dea-shéalaithe, saol fada, cuimilte íseal, gan aon chrá, etc. Tá TDA oiriúnach do shéalaithe brú aontreo na loiní. Tá TDMA oiriúnach do shéalú brú dhá bhealach loiní.
Is éard atá i GGDA ná fáinne saothraithe PTFE-líonta, dhá fháinne tacaíochta plaisteacha L-chruthach agus fórsa leaisteach O-fáinne, le dea-shéalaithe, saol fada, cuimilte íseal, gan aon chrá agus tréithe eile. Oiriúnach do shéalaithe brú déthreoch loine.
Is séala neamhshiméadrach é RCUP Séalaithe RCUP a úsáidtear go speisialta ar na loiní, atá oiriúnach do thairiscint hiodrálach ag séalú aontreo, le feidhmíocht mhaith ina saothraítear ina saothraítear. Cloíonn an groove le caighdeán ISO5597. Is séala neamhshiméadrach é an fáinne séalaithe de chineál YXD le haghaidh seafta a úsáidtear go speisialta ar na loiní, atá oiriúnach do thairiscint hiodrálach ag séalú aontreo, le feidhmíocht mhaith ina saothraítear rónta. Nuair a úsáidtear é faoi 12 ~ 32MPa, tá fáinne coinneála ag teastáil ag an tsáil. Cloíonn an groove le caighdeán JB/ZQ4265-97. Gnéithe:
1. infheidhme maidir le hualaí solais agus ualaí meánacha;
2. Feidhmíocht mhaith ina saothraítear rónta do shéalaithe ardbhrú agus brú íseal;
3. Tá éagsúlacht ábhar ar fáil, le raon níos leithne friotaíochta sna meáin;
4. Struchtúr simplí agus suiteáil agus cothabháil éasca.
Gnéithe agus feidhmchláir táirge:
Roghnú Ábhar:
RC61, RC62
Is féidir le hábhair na bhfáinne O: R01 Rubber nítríle (NBR), R02 Fluororubber (FKM), etc.
2. Ábhair Fáinne a Shéalú: Ábhar Caighdeánach PTFE3, Ábhair Roghnacha Eile PTFE2, PTFE4, PU, ETC.
Go maith
1. Ábhar fáinne dronuilleogach a mheaitseáil: R01 Rubber nítríle
2. Ábhar fáinne ina saothraítear rónta: ábhar teirmeaplaisteach ilchodach.
RC63, RC64, SPG, RC66, AQ, AQF
Is féidir le hábhair na bhfáinne O: R01 Rubber nítríle (NBR), R02 Fluororubber (FKM), etc.
2. Ábhair Fáinne a Shéalú: Ábhar Caighdeánach PTFE3, Ábhair Roghnacha Eile PTFE1, PTFE2, PTFE4.
KDAS, TPM
Ábhar fáinne rubair a mheaitseáil: R01 Rubber nítríle
2.
3. Fáinne Treorach: PA/Polyoxymethylene POM/Polytetrafluoroethylene PTFE
GDKK, RC67
1. Ábhair leaistiméire atá ar fáil: R01 Rubber nítríle (NBR), R02 Fluororubber (FKM), etc.
2. Ábhar fáinne a shéalú: ábhar caighdeánach PTFE3, ábhair roghnacha eile PTFE2, PTFE4.
3. Ábhar fáinne a choinneáil: POM/PA/PTFE, úsáidtear ábhar PTFE nuair a sháraíonn an teocht 100 céim.
Rcek
1. Ábhar fáinne brúigh: polytetrafluoroethylene, éadach nítríle, éadach fluaircíní, níolón, polyoxymethylene
2. Ábhar V-fáinne: polytetrafluoroethylene, rubar nítríle, éadach nítríle, flororubber, éadach fluororubber
3. Ábhar Fáinne Tacaíochta: Éadach nítríle, éadach fluairíd, níolón, polyoxymethylene, polytetrafluoroethylene
RCKR, RPW
Ábhar fáinne dronuilleogach a mheaitseáil: Rubber nítríle RO1 (NBR)
2. Ábhar fáinne a shéalú: PU
An Yxd
Rubber nítríle roghnach (R01), florororubber (R02), polúireatán (PU), etc.
Sampla a Ordú:
Múnla Ordaithe RC61-40X29X4.2-PTFE3-R01ORDERING Múnla RC61-B-40X29X4.2-PTFE3-R02
RC61-GLYD RING RC61-B-HOLE SEAL DXDX L-MATERIAL CÓD
RC62-80X60X10-PTFE3-R01 RC62-MODEL DXDXL PTFE3, R01 Cód Ábhar
Múnla Ordaithe OK-80X59X8 Trastomhas sorcóra x Groove trastomhas x leithead groove
Múnla Ordaithe RC63-80-PTFE3-R01 nó SPGC-80-PTFE3-R01
RC63/SPGC-MODEL 80-Sorcóir Trastomhas D PTFE3-PTFE Cód Ábhar R01-O-Ring Cód Ábhar
Múnla Ordaithe KDAS-80X60X22.4 Trastomhas sorcóra x trastomhas groove x leithead groove (L)
Múnla Ordaithe TPM-80X60X22.4 Trastomhas sorcóra x trastomhas groove x leithead groove (L)
Sampla Ordaithe: GDKK-80*62*43*22.5-R01
Múnla Ordaithe RC64-80-PTFE3-R01
RC64-MODEL 80-Sorcóir Trastomhas D PTFE3-PTFE Cód Ábhar R01-O-Ring Cód Ábhar
Sampla Ordaithe: SPG-D*D*L-PTFE3-R01 (Trastomhas Seachtrach*Trastomhas Inmheánach*Leithead Groove) PTFE3, Cód R01-Ábhair
RC66
Múnla Ordaithe RC67-100x85x12.5-PTFE3-R01 nó SPGW-100x85x12.5-PTFE3 -R01
Trastomhas sorcóra samhail x groove trastomhas bun x leithead groove PTFE3-modhnaithe cód ábhair PTFE R01 Cód Ábhar Elastomer
Rcek
| múnla | Ábhair | Raon is infheidhme | Rónta |
| Rcek-A | V-fáinne: éadach NBR, fáinne brú, fáinne tacaíochta: éadach NBR/PA/POM/PTFE | Gnáth -theocht, brú ard | Go maith |
| Rcek-B | V-fáinne: Éadach FKM, Fáinne Brú, Fáinne Tacaíochta: FKM Éadach/PTFE | Teocht ard, brú ard | Go maith |
| RCEK-C | V-fáinne: NBR, Fáinne Brú, Fáinne Tacaíochta: Éadach NBR/PA/POM/PTFE | Gnáth -theocht, brú meánach agus íseal | Thar cionn |
| RCEK-D | V-fáinne: FKM, fáinne brú, fáinne tacaíochta: éadach FKM/PTFE | Teocht ard, brú meánach agus íseal | Thar cionn |
| Rcek-E | V-fáinne: teaglaim éadach NBR agus NBR, fáinne brú, fáinne tacaíochta: éadach NBR/PA/POM/PTFE | Gnáth -theocht, meánbhrú agus ardbhrú | Thar cionn |
| RCEK-F | V-fáinne: Teaglaim Éadach FKM agus FKM, Fáinne Brú, Fáinne Tacaíochta: FKM Éadach/PTFE | Teocht ard, meánbhrú agus ardbhrú | Cothrom |
| Rcek-G | V-fáinne, fáinne brú, fáinne tacaíochta: PTFE1/PTFE2/PTFE3/PTFE4 | Teocht ard agus meáin chreimneacha ardbhrú | Thar cionn |
| Rcek-H | V-fáinne: PU, fáinne brú, fáinne tacaíochta: PU/PA/POM/PTFE | Gnáth -theocht, meánbhrú agus ardbhrú | Rónta |
| Múnla Ordaithe RCEK-A-120 × 95x25.3 Trastomhas Samhail-Sorcóir X Groove Trastove Bun X Leithead Groove | |||
Aq
Aqf
RCKR
RPW
TDA
Fad Chamfer
| Raon trastomhas sorcóra | Fad Chamfer E≥ |
| 40-89 | 6 |
| 90-144 | 7 |
| 145-320 | 10 |
| 321-670 | 15 |
TDMA
GGDA
RCUP
Sampla Ordaithe: Samhail Ordaithe RCUP D63 × 48 × 10 Trastomhas sorcóra × trastomhas groove × airde séala
An Yxd
Samhail Ordaithe YXD63 × 51 × 14-R01 Trastomhas sorcóra × trastomhas groove × Cód Ábhar Airde Séala
Sonraíochtaí:
RC61| Raon cró D H9 |
Trastomhas groove D H9 |
Leithead groove L+0.2 |
Imréiteach gathach smax | Coirnéil chothromaithe RMAX |
Caolafoirt Zmí Miannach |
Trastomhas sreinge o-fáinne | |||
| Cineál caighdeánach | Ualach éadrom | Uachríoch trom | 0 ~ 20MPA | 20 ~ 40MPA | |||||
| 8 ~ 14.9 | 15 ~ 39.9 | - | D-4.9 | 2.2 | 0.20 | 0.15 | 0.4 | 2 | 1.80 |
| 15 ~ 39.9 | 40 ~ 79.9 | - | D-7.5 | 3.2 | 0.25 | 0.15 | 0.6 | 3 | 2.65 |
| 40 ~ 79.9 | 80 ~ 132.9 | 15 ~ 39.9 | D-11.0 | 4.2 | 0.25 | 0.20 | 1.0 | 4 | 3.55 |
| 80 ~ 132.9 | 133 ~ 329.9 | 40 ~ 79.9 | D-15.5 | 6.3 | 0.30 | 0.20 | 1.3 | 5 | 5.30 |
| 133 ~ 329.9 | 330-669.9 | 80 ~ 132.9 | D-21.0 | 8.1 | 0.35 | 0.25 | 1.8 | 7 | 7.00 |
| 330 ~ 669.9 | 670 ~ 999.9 | 133 ~ 329.9 | D-244.5 | 8.1 | 0.35 | 0.25 | 1.8 | 7 | 7.00 |
| 670 ~ 999.9 | - | 330 ~ 669.9 | D-28.0 | 9.5 | 0.5 | 0.30 | 2.5 | 8 | 8.60 |
| > 1000 | D-38 | 13.8 | 0.7 | 0.60 | 3 | 10 | 12.0 | ||
| Tabhair faoi deara: 1. Maidir le trastomhas poll ≤30mm, moltar go n -úsáidfí groove oscailte. | |||||||||
| 2. Le haghaidh brú> 40MPa, úsáideann an fhréamh -limistéar den séala s lamháltas oiriúnach H8/F8 Fit | |||||||||
| Raon cró D H9 |
Trastomhas groove D H9 |
Leithead groove L+0.2 |
Imréiteach gathach smax | Coirnéil chothromaithe RMAX |
Caolafoirt Zmí Miannach |
|
| 0-20MPA | 20 ~ 40MPA | |||||
| 20 ~ 49.9 | D-10 | 5 | 0.40 | 0.30 | 0.3 | 4 |
| 50 ~ 59.9 | D-15 | 7.5 | 0.40 | 0.30 | 0.4 | 5 |
| 60 ~ 149.9 | D-20 | 10 | 0.50 | 0.40 | 0.4 | 6 |
| 150 ~ 244.9 | D-25 | 12.5 | 0.60 | 0.50 | 0.4 | 8.5 |
| 245 ~ 519.9 | D-30 | 15 | 0.70 | 0.60 | 0.8 | 10 |
| 520 ~ 769.9 | D-35 | 17.5 | 0.80 | 0.70 | 1.2 | 13 |
| 770 ~ 1500 | D-40 | 20 | 0.80 | 0.70 | 1.2 | 15 |
| Tabhair faoi deara: 1. I gcás trastomhas poll ≤ 30mm, moltar go n -úsáidfí groove oscailte. | ||||||
| 2. Le haghaidh brú> 40MPa, úsáideann an fhréamh -achar den séala s lamháltas oiriúnach H8/F8. | ||||||
| múnla | Dh9 | Dh9 | L+0.2 | D1 | múnla | Dh9 | Dh9 | L+0.2 | D1 | múnla | Dh9 | Dh9 | L+0.2 | D1 |
| OK-25*16*4.2 | 25 | 16 | 4.2 | 24.3 | OK-90*74.5*6.3 | 90 | 74.5 | 6.3 | 89.0 | OK-160*139*8.0 | 160 | 139 | 8.0 | 158.8 |
| OK-32*21*4.2 | 32 | 21 | 4.2 | 31.3 | OK-95*74*8.0 | 95 | 74 | 8.0 | 94.0 | OK-170*149*8.0 | 170 | 149 | 8.0 | 168.8 |
| OK-40*26.3*5.8 | 40 | 26.3 | 5.8 | 39.2 | OK-100*79*8.0 | 100 | 79 | 8.0 | 99.0 | OK-180*159*8.0 | 180 | 159 | 8.0 | 178.8 |
| OK-40*29*4.2 | 40 | 29 | 4.2 | 39.3 | OK-100*84.5*6.3 | 100 | 84.5 | 6.3 | 99.0 | OK-190*169*8.0 | 190 | 169 | 8.0 | 188.8 |
| OK-50*34.5*6.3 | 50 | 34.5 | 6.3 | 49.0 | OK-105*84*8.0 | 105 | 84 | 8.0 | 103.8 | OK-200*179*8.0 | 200 | 179 | 8.0 | 198.8 |
| OK-50*39*4.2 | 50 | 39 | 4.2 | 49.3 | OK-110*89*8.0 | 110 | 89 | 8.0 | 108.8 | OK-210*189*8.0 | 210 | 189 | 8.0 | 208.4 |
| OK-60*41.7*7 7 | 60 | 41.7 | 7.0 | 59.2 | OK-110*94.5*6.3 | 110 | 94.5 | 6.3 | 109.0 | OK-220*199*8.0 | 220 | 199 | 8.0 | 218.4 |
| OK-60*49*4.2 | 60 | 49 | 4.2 | 59.3 | OK-115*94*8.0 | 115 | 94 | 8.0 | 113.8 | OK-230*209*8.0 | 230 | 209 | 8.0 | 228.4 |
| OK-63*44.7*7.0 | 63 | 44.7 | 7.0 | 62.2 | OK-120*99*8.0 | 120 | 99 | 8.0 | 118.3 | OK-240*219*8.0 | 240 | 219 | 8.0 | 238.4 |
| OK-63*47.5*6.3 | 63 | 47.5 | 6.3 | 62.0 | OK-125*104*8.0 | 125 | 104 | 8.0 | 123.8 | OK-250*229*8.0 | 250 | 229 | 8.0 | 248.4 |
| OK-70*51.7*7.0 | 70 | 51.7 | 7.0 | 69.2 | OK-125*109.5*6.3 | 125 | 109.5 | 6.3 | 124.0 | OK-280*225.5*8.0 | 280 | 255.5 | 8.0 | 278.4 |
| OK-70*59*4.2 | 70 | 59 | 4.2 | 69.3 | OK-130*109*8.0 | 130 | 109 | 8.0 | 128.8 | OK-300*272*9.5 | 300 | 272 | 9.5 | 297.8 |
| OK-75*54*8.0 | 75 | 54 | 8.0 | 74.2 | OK-130*114.5*6.3 | 130 | 114.5 | 6.3 | 129.0 | OK-320*292*9.5 | 320 | 292 | 9.5 | 317.8 |
| OK-75*59.5*6.3 | 75 | 59.5 | 6.3 | 74.0 | OK-135*114*8.0 | 135 | 114 | 8.0 | 133.5 | OK-330*302*9.5 | 330 | 302 | 9.5 | 327.8 |
| OK-80*59*8.0 | 80 | 59 | 8.0 | 79.0 | OK-135*119.5*6.3 | 135 | 119.5 | 6.3 | 134.0 | OK-350*322*9.5 | 350 | 322 | 9.5 | 347.8 |
| OK-80*64.5*6.3 | 80 | 64.5 | 6.3 | 79.0 | OK-140*119*8.0 | 140 | 119 | 8.0 | 138.8 | OK-370*342*9.5 | 370 | 342 | 9.5 | 367.8 |
| OK-85*64*8.0 | 85 | 64 | 8.0 | 84.0 | OK-145*124*8.0 | 145 | 124 | 8.0 | 143.8 | OK-420*392*9.5 | 420 | 392 | 9.5 | 417.8 |
| OK-90*69*8.0 | 90 | 69 | 8.0 | 89.0 | OK-150*129*8.0 | 150 | 129 | 8.0 | 148.8 |
|
|
|
|
|
| Raon cró D H9 |
Trastomhas groove D h9 | Leithead groove L+0.2 |
Imréiteach gathaigh SCálax |
Coirnéil bhabhta RMAX |
Caolafoirt Zmí Miannach |
Trastomhas sreinge o-fáinne dO |
|
| Hiodrálach | Frithchuimilt íseal neomatach agus hiodrálach | ||||||
| 6 ~ 13 | D-3 | D-3.5 | 2.5 | 0.2 | 0.4 | 3 | 1.9 |
| 14 ~ 26 | D-4 | D-4.6 | 3.2 | 0.3 | 0.6 | 4 | 2.4 |
| 27 ~ 56 | D-6 | D-6.6 | 4.7 | 0.3 | 1 | 5 | 3.5 |
| 57 ~ 169 | D-10 | D-10.6 | 7.5 | 0.35 | 1 | 6 | 5.7 |
| 170 ~ 1500 | D-15 | D-15.6 | 11.0 | 0.4 | 2.5 | 8 | 8.6 |
| múnla | méid | múnla | méid | ||||||||||
| D | d | D1 | D2 | L | L1 | D | d | D1 | D2 | L | L1 | ||
| KDAS-20 | 20 | 11 | 17 | 19 | 13.5 | 2.1 | KDAS-25/2 | 25 | 16 | 22 | 24 | 13.5 | 2.1 |
| KDAS-22 | 22 | 13 | 19 | 21 | 13.5 | 2.1 | KDAS-28 | 28 | 19 | 25 | 27 | 13.5 | 2.1 |
| KDAS-25/1 | 25 | 15 | 22 | 24 | 12.5 | 4 | KDAS-30 | 30 | 21 | 27 | 29 | 13.5 | 2.1 |
| Uimhir táirge | D | d | b | d2 | d3 | a | c | f | e |
| GDKK-40 | 40 | 26 | 32 | 32 | 36 | 3 | 15.5 | 8.25 | 7 |
| GDKK-45 | 45 | 31 | 37 | 41 | |||||
| GDKK-50 | 50 | 34 | 39 | 42 | 46 | 20.5 | 9.25 | ||
| GDKK-56 | 56 | 40 | 48 | 52 | |||||
| GDKK-63 | 63 | 47 | 55 | 59 | |||||
| GDKK-65 | 65 | 49 | 57 | 61 | |||||
| GDKK-70 | 70 | 54 | 62 | 66 | |||||
| GDKK-75 | 75 | 59 | 67 | 71 | |||||
| GDKK-80 | 80 | 62 | 43 | 72 | 76 | 22.5 | 10.25 | ||
| GDKK-85 | 85 | 67 | 77 | 81 | |||||
| GDKK-90 | 90 | 72 | 82 | 86 | |||||
| GDKK-95 | 95 | 77 | 87 | 91 | |||||
| GDKK-100 | 100 | 82 | 92 | 96 | 10 | ||||
| GDKK-110 | 110 | 92 | 102 | 106 | |||||
| GDKK-115 | 115 | 97 | 107 | 111 | |||||
| GDKK-120 | 120 | 102 | 112 | 116 |
| Raon cró D H9 |
Trastomhas groove Dh9 |
Leithead groove L+0.2 |
Coirnéil chothromaithe RMAX |
Imréiteach gathaigh SMax |
Caolafoirt Zmí Miannach |
Trastomhas sreinge o-fáinne dO |
| 14 ~ 22.9 | D-5.2 | 3.8 | 0.6 | 0.25 | 3 | 2.65 |
| 23 ~ 49.9 | D-6.6 | 4.8 | 1 | 0.3 | 4 | 3.55 |
| 50 ~ 119.9 | D-10.0 | 7.3 | 1.3 | 0.35 | 6 | 5.30 |
| 120 ~ 1500 | D-13.0 | 9.5 | 1.8 | 0.4 | 8 | 7.00 |
| Tabhair faoi deara: Maidir le trastomhas sorcóra ≤30mm, moltar groove oscailte. | ||||||
| D | d | H | L+0.2 |
|
D | d | H | L+0.2 |
|
D | d | H | L+0.2 |
|
D | d | H | L+0.2 |
| 30 | 20.5 | 4.3 | 4.5 | 95 | 80 | 7.3 | 7.5 | 224 | 202 | 10.8 | 11 | 800 | 785 | 12.7 | 13 | |||
| 31.5 | 22 | 4.3 | 4.5 | 100 | 85 | 7.3 | 7.5 | 225 | 203 | 10.8 | 11 | 900 | 870 | 24.5 | 25 | |||
| 32 | 22.5 | 4.3 | 4.5 | 108 | 92 | 7.3 | 7.5 | 230 | 208 | 10.8 | 11 | 930 | 890 | 19 | 20 | |||
| 35 | 25.5 | 4.3 | 4.5 | 110 | 94 | 7.3 | 7.5 | 240 | 218 | 10.8 | 11 | 935 | 920 | 12.7 | 13 | |||
| 35.5 | 26 | 4.3 | 4.5 | 112 | 96 | 7.3 | 7.5 | 250 | 228 | 10.8 | 11 | 950 | 925 | 17.7 | 18 | |||
| 40 | 30 | 4.3 | 4.5 | 120 | 104 | 7.3 | 7.5 | 260 | 236 | 11.7 | 12 | 1000 | 960 | 19.7 | 20 | |||
| 45 | 35 | 4.3 | 4.5 | 125 | 109 | 7.3 | 7.5 | 270 | 246 | 11.7 | 12 | 1060 | 1020 | 19.7 | 20 | |||
| 50 | 40 | 4.3 | 4.5 | 130 | 114 | 7.3 | 7.5 | 280 | 256 | 11.7 | 12 | 1120 | 1080 | 19.7 | 20 | |||
| 55 | 45 | 4.3 | 4.5 | 140 | 124 | 7.3 | 7.5 | 290 | 266 | 11.7 | 12 | 1150 | 1110 | 19.7 | 20 | |||
| 56 | 46 | 4.3 | 4.5 | 145 | 129 | 7.3 | 7.5 | 300 | 276 | 11.7 | 12 | 1180 | 1130 | 19.7 | 20 | |||
| 60 | 50 | 4.3 | 4.5 | 150 | 134 | 7.3 | 7.5 | 310 | 286 | 11.7 | 12 | 1210 | 1170 | 19.7 | 20 | |||
| 63 | 48 | 7.3 | 7.5 | 155 | 139 | 7.3 | 7.5 | 320 | 296 | 11.7 | 12 | 1250 | 1210 | 19 | 20 | |||
| 65 | 50 | 7.3 | 7.5 | 160 | 144 | 7.3 | 7.5 | 330 | 308 | 9.75 | 10 | 1260 | 1220 | 19.7 | 20 | |||
| 69 | 54 | 7.3 | 7.5 | 170 | 148 | 10.8 | 11 | 360 | 336 | 11.7 | 12 | 1400 | 1350 | 19.7 | 20 | |||
| 70 | 55 | 7.3 | 7.5 | 180 | 158 | 10.8 | 11 | 485 | 455 | 14.8 | 15 | 1500 | 1460 | 19.7 | 20 | |||
| 71 | 56 | 7.3 | 7.5 | 190 | 168 | 10.8 | 11 | 500 | 470 | 14.8 | 15 | 1650 | 1600 | 24 | 25 | |||
| 75 | 60 | 7.3 | 7.5 | 200 | 178 | 10.8 | 11 | 550 | 515 | 17.2 | 17.5 |
|
|
|
|
|||
| 80 | 65 | 7.3 | 7.5 | 204 | 182 | 10.8 | 11 | 600 | 570 | 14.8 | 15 |
|
|
|
|
|||
| 85 | 70 | 7.3 | 7.5 | 210 | 188 | 10.8 | 11 | 650 | 620 | 14.8 | 15 |
|
|
|
|
|||
| 90 | 75 | 7.3 | 7.5 | 220 | 198 | 10.8 | 11 | 720 | 690 | 14.8 | 15 |
|
|
|
|
| Ordú Sampla: RC66-D*D*L-PTFE3-R01 (trastomhas seachtrach*trastomhas istigh*leithead groove) PTFE3, R01- Cód Ábhar | ||||||||||||||||||
| D | d | L |
|
D | d | L |
|
D | d | L |
|
D | d | L |
|
D | d | L |
| 15 | 10 | 2 | 32 | 24.8 | 4 | 55 | 45 | 5 | 80 | 66 | 6.5 | 125 | 111.2 | 7.5 | ||||
| 16 | 11 | 2 | 35 | 26.5 | 4 | 55 | 46.5 | 4 | 80 | 66.2 | 7.5 | 125 | 114 | 4 | ||||
| 18 | 13 | 2 | 35 | 27.5 | 3 | 56 | 46 | 5 | 80 | 70 | 4 | 130 | 116 | 6.5 | ||||
| 20 | 12.8 | 4 | 35 | 27.8 | 4 | 56 | 47.5 | 4 | 90 | 76 | 6.5 | 140 | 126 | 6.5 | ||||
| 20 | 14 | 3 | 36 | 28.5 | 3 | 60 | 50 | 4 | 90 | 76.2 | 7.5 | 140 | 126.2 | 7.5 | ||||
| 20 | 15 | 2 | 36 | 28.8 | 4 | 60 | 50 | 5 | 90 | 80 | 4 | 160 | 146 | 6.5 | ||||
| 25 | 17.8 | 4 | 40 | 30 | 5 | 60 | 51.5 | 4 | 100 | 86 | 6.5 | 180 | 160 | 10 | ||||
| 25 | 19 | 3 | 40 | 31.5 | 4 | 63 | 49 | 6.5 | 100 | 86.2 | 7.5 | 180 | 165 | 6 | ||||
| 25 | 20 | 2 | 40 | 32.5 | 3 | 63 | 53 | 4 | 100 | 89 | 4 | 200 | 180 | 10 | ||||
| 28 | 20.5 | 3 | 45 | 35 | 5 | 63 | 53 | 5 | 110 | 96 | 6.5 | 200 | 185 | 6 | ||||
| 28 | 20.8 | 4 | 45 | 36.5 | 4 | 65 | 51 | 6.5 | 110 | 96.2 | 7.5 | 250 | 230 | 10 | ||||
| 30 | 21.5 | 4 | 45 | 37.5 | 3 | 65 | 55 | 4 | 110 | 99 | 4 | 280 | 260 | 10 | ||||
| 30 | 22.5 | 3 | 50 | 40 | 4 | 65 | 55 | 5 | 120 | 106 | 6.5 | 320 | 300 | 10 | ||||
| 30 | 22.8 | 4 | 50 | 40 | 5 | 70 | 56 | 6.5 | 120 | 106.2 | 7.5 |
|
|
|
||||
| 32 | 23.5 | 4 | 50 | 41.5 | 4 | 70 | 60 | 4 | 120 | 109 | 4 |
|
|
|
||||
| 32 | 24.5 | 3 | 55 | 45 | 4 | 70 | 60 | 5 | 125 | 111 | 6.5 |
|
|
|
||||
| Nóta: Níl na toisí liostaithe sa tábla seo, déan teagmháil linn. | ||||||||||||||||||
| Dh9 | D H9 | L+0.2 | Z | R |
|
Dh9 | D H9 | L+0.2 | Z | R |
| 50.0 | 36.0 | 9.0 | 5.0 | 0.3 | 115.0 | 100.0 | 12.5 | 5.0 | 0.5 | |
| 55.0 | 41.0 | 9.0 | 5.0 | 0.3 | 120.0 | 105.0 | 12.5 | 5.0 | 0.5 | |
| 60.0 | 46.0 | 9.0 | 5.0 | 0.3 | 125.0 | 102.0 | 16.0 | 6.5 | 0.6 | |
| 63.0 | 48.0 | 11.0 | 5.0 | 0.5 | 130.0 | 107.0 | 16.0 | 6.5 | 0.6 | |
| 65.0 | 50.0 | 11.0 | 5.0 | 0.5 | 135.0 | 112.0 | 16.0 | 6.5 | 0.6 | |
| 70.0 | 55.0 | 11.0 | 5.0 | 0.5 | 140.0 | 117.0 | 16.0 | 6.5 | 0.6 | |
| 75.0 | 60.0 | 11.0 | 5.0 | 0.5 | 145.0 | 122.0 | 16.0 | 6.5 | 0.6 | |
| 80.0 | 65.0 | 11.0 | 5.0 | 0.5 | 150.0 | 127.0 | 16.0 | 6.5 | 0.6 | |
| 85.0 | 70.0 | 11.0 | 5.0 | 0.5 | 155.0 | 132.0 | 16.0 | 6.5 | 0.6 | |
| 90.0 | 75.0 | 11.0 | 5.0 | 0.5 | 160.0 | 137.0 | 16.0 | 6.5 | 0.6 | |
| 95.0 | 80.0 | 12.5 | 5.0 | 0.5 | 165.0 | 142.0 | 16.0 | 6.5 | 0.6 | |
| 100.0 | 85.0 | 12.5 | 5.0 | 0.5 | 170.0 | 147.0 | 16.0 | 6.5 | 0.6 | |
| 105.0 | 90.0 | 12.5 | 5.0 | 0.5 | 180.0 | 157.0 | 16.0 | 6.5 | 0.6 | |
| 110.0 | 95.0 | 12.5 | 5.0 | 0.5 |
|
|
|
|
|
| Sonraíochtaí agus toisí | ||||||||||
| Trastomhas sorcóra | Trastomhas ón mbonn | Trastomhas bonn | Leithead | Treoir nóiméad |
|
Trastomhas sorcóra | Trastomhas ón mbonn | Trastomhas bonn | Leithead | Treoir nóiméad |
| Dh9 | D H9 | D 1 | L | Z | Dh9 | D H9 | D 1 | L | Z | |
| 100 | 80 | 99 | 21.2 | 6 | 150 | 120 | 148.5 | 29 | 7.5 | |
| 110 | 90 | 109 | 21.2 | 6 | 160 | 130 | 158.5 | 29 | 7.5 | |
| 120 | 95 | 119 | 25.3 | 7.5 | 180 | 150 | 178.5 | 31.5 | 7.5 | |
| 140 | 115 | 139 | 25.8 | 7.5 | 200 | 170 | 198.5 | 33.5 | 7.5 | |
| Ordú Sampla AQ0800 80 × 64.5 × 6.3 (D × D × L) PTFE3-R01 PTFE3 R01-ATHBHREITHNIÚ | ||||||||||||||||
| Uimhir táirge | D | d | L+0.2 | RCálax |
|
Uimhir táirge | D | d | L+0.2 | RCálax |
|
Uimhir táirge | D | d | L+0.2 | RCálax |
| AQ0160 | 16 | 5 | 4.2 | 0.8 | AQ0800L | 80 | 64.5 | 6.3 | 1.2 | AQ1500 | 150 | 129 | 8.1 | 1.6 | ||
| Add0180 | 18 | 7 | 42 | 0.8 | AQ0800 | 80 | 59 | 8.1 | 1.6 | AQ1600 | 160 | 139 | 8.1 | 1.6 | ||
| AQ0200 | 20 | 9 | 4.2 | 0.8 | AQ0850L | 85 | 69.5 | 6.3 | 1.2 | AQ1700 | 170 | 149 | 8.1 | 1.6 | ||
| AQ0220 | 22 | 11 | 4.2 | 0.8 | AQ0850 | 85 | 64 | 8.1 | 1.6 | AQ1800 | 180 | 159 | 8.1 | 1.6 | ||
| AQ0250 | 25 | 14 | 4.2 | 0.8 | AW0900L | 90 | 74.5 | 6.3 | 1.2 | AQ1900 | 190 | 169 | 8.1 | 1.6 | ||
| AQ0280 | 28 | 17 | 4.2 | 0.8 | AQ0900 | 90 | 69 | 8.1 | 1.6 | AQ2000 | 200 | 179 | 8.1 | 1.6 | ||
| AQ0300 | 30 | 19 | 4.2 | 0.8 | AQ0950L | 95 | 79.5 | 6.3 | 1.2 | AQ2100 | 210 | 189 | 8.1 | 1.6 | ||
| AQ0320 | 32 | 21 | 4.2 | 0.8 | AQ0950 | 95 | 74 | 8.1 | 1.6 | AQ2200 | 220 | 199 | 8.1 | 1.6 | ||
| AQ0350 | 35 | 24 | 4.2 | 0.8 | AQ1000L | 100 | 84.5 | 6.3 | 1.2 | AQ2300 | 230 | 209 | 8.1 | 1.6 | ||
| AQ0400 | 40 | 29 | 4.2 | 0.8 | AQ1000 | 100 | 79 | 8.1 | 1.6 | AQ2400 | 240 | 219 | 8.1 | 1.6 | ||
| Sampla a ordú AQF0800 80 × 67 × 8.3 (D × D × L) PTFE3-R01 Cód Ábhar | ||||||||||||||||
| Uimhir táirge |
D H9 |
d H9 |
L+0.2 | RCálax |
|
Uimhir táirge |
D H9 |
d H9 |
L+0.2 | RCálax |
|
Uimhir táirge |
D H9 |
d H9 |
L+0.2 | RCálax |
| AQF0400 | 40 | 30 | 6.3 | 1.2 | AQF01150 | 115 | 102 | 8.3 | 1.6 | AQF3200 | 320 | 302 | 12.3 | 3 | ||
| AQF0420 | 42 | 32 | 6.3 | 1.2 | AQF01200 | 120 | 107 | 8.3 | 1.6 | AQF3500 | 350 | 332 | 12.3 | 3 | ||
| AQF0450 | 45 | 35 | 6.3 | 1.2 | AQF01250 | 125 | 112 | 8.3 | 1.6 | AQF4000 | 400 | 382 | 12.3 | 3 | ||
| AQF0480 | 48 | 38 | 6.3 | 1.2 | AQF01300 | 130 | 117 | 8.3 | 1.6 | AQF4200 | 420 | 402 | 12.3 | 3 | ||
| AQF0500 | 50 | 40 | 6.3 | 1.2 | AQF1350 | 135 | 117 | 12.3 | 3 | AQF4500 | 450 | 432 | 12.3 | 3 | ||
| AQF0520 | 52 | 42 | 6.3 | 1.2 | AQF1400 | 140 | 122 | 12.3 | 3 | AQF4800 | 480 | 449 | 16.3 | 3 | ||
| AQF0550 | 55 | 45 | 6.3 | 1.2 | AQF1500 | 150 | 132 | 12.3 | 3 | AQF5000 | 500 | 469 | 16.3 | 3 | ||
| AQF0600 | 60 | 50 | 6.3 | 1.2 | AQF1600 | 160 | 142 | 12.3 | 3 | Aqf6000 | 600 | 569 | 16.3 | 3 | ||
| AQF0630 | 63 | 53 | 6.3 | 1.2 | AQF1700 | 170 | 152 | 12.3 | 3 | AQF7000 | 700 | 669 | 16.3 | 3 | ||
| D | d | L | D1 |
|
D | d | L | D1 |
|
D | d | L | D1 |
| 20 | 12.5 | 3.2 | 19.7 | 63 | 50 | 6.3 | 62.6 | 100 | 79 | 8.1 | 99.5 | ||
| 25 | 17.5 | 3.2 | 24.7 | 65 | 52 | 6.3 | 64.6 | 105 | 84.5 | 6.3 | 104.6 | ||
| 25 | 14 | 4.2 | 24.7 | 70 | 59 | 4.2 | 69.7 | 105 | 89.5 | 6.3 | 104.6 | ||
| 32 | 24.5 | 3.2 | 31.7 | 70 | 54.5 | 6.3 | 69.6 | 110 | 89 | 8.1 | 109.5 | ||
| 32 | 21 | 4.2 | 31.7 | 70 | 57 | 6.3 | 69.6 | 115 | 94 | 8.1 | 114.5 | ||
| 40 | 32.5 | 3.2 | 39.7 | 75 | 59.5 | 6.3 | 74.6 | 120 | 99 | 8.1 | 119.5 | ||
| 40 | 29 | 4.2 | 39.7 | 75 | 62 | 6.3 | 74.6 | 125 | 109.5 | 6.3 | 124.6 | ||
| 45 | 34 | 4.2 | 44.7 | 80 | 69 | 4.2 | 79.7 | 125 | 104 | 8.1 | 124.5 | ||
| 45 | 32 | 6.3 | 44.6 | 80 | 64.5 | 6.3 | 79.6 | 140 | 119 | 8.1 | 139.5 | ||
| 50 | 39 | 4.2 | 49.7 | 85 | 71.5 | 6.3 | 84.6 | 160 | 139 | 8.1 | 159.5 | ||
| 50 | 34.5 | 6.3 | 49.6 | 90 | 74.5 | 6.3 | 89.6 | 200 | 179 | 8.1 | 199.5 |
| Raon cró D H9 |
Trastomhas groove D H9 |
Leithead groove L+0.2 |
Imréiteach gathach smax | Coirnéil chothromaithe RMAX |
Caolafoirt Z |
Trastomhas sreinge o-fáinne | |||
| Cineál caighdeánach RPW |
Ualach éadrom RPW-Q |
Uachóir RPW-Z |
0 ~ 20MPA | 20-40MPA | |||||
| 8 ~ 14.9 | 15 ~ 39.9 | - | D-4.9 | 2.2 | 0.20 | 0.15 | 0.4 | 2 | 1.80 |
| 15 ~ 39.9 | 40 ~ 79.9 | - | D-7.5 | 3.2 | 0.25 | 0.15 | 0.6 | 3 | 2.65 |
| 40 ~ 79.9 | 80 ~ 132.9 | 15 ~ 39.9 | D-11.0 | 4.2 | 0.25 | 0.20 | 1.0 | 4 | 3.55 |
| 80 ~ 132.9 | 133 ~ 329.9 | 40 ~ 79.9 | D-15.5 | 6.3 | 0.30 | 0.20 | 1.3 | 5 | 5.30 |
| 133 ~ 329.9 | 330 ~ 669.9 | 80 ~ 132.9 | D-21.0 | 8.1 | 0.35 | 0.25 | 1.8 | 7 | 7.00 |
| 330-669.9 | 670 ~ 999.9 | 133 ~ 329.9 | D-244.5 | 8.1 | 0.35 | 0.25 | 1.8 | 7 | 7.00 |
| 670 ~ 999.9 | - | 330 ~ 669.9 | D-28.0 | 9.5 | 0.5 | 0.30 | 2.5 | 8 | 8.60 |
| > 1000 | D-38 | 13.8 | 0.7 | 0.60 | 3 | 10 | 12.0 | ||
| Tabhair faoi deara: 1. I gcás trastomhas poll ≤ 30mm, moltar go n -úsáidfí groove oscailte. | |||||||||
| 2. Le haghaidh brú> 40MPa, úsáideann fréamhacha an tséala lamháltas oiriúnach H8/F8. | |||||||||
|
|
|||||||||||||
| Uimhir ordaithe | Dh8 | Dh9 | L+0.2 |
|
Uimhir ordaithe | Dh8 | Dh9 | L+0.2 |
|
Uimhir ordaithe | Dh8 | Dh9 | L+0.2 |
| TDA0400 | 40 | 32 | 7.5 | TDA1150 | 115 | 100 | 13 | TDA2800 | 280 | 260 | 17 | ||
| TDA0450 | 45 | 37 | 7.5 | TDA1200 | 120 | 105 | 13 | TDA3000 | 300 | 280 | 17 | ||
| TDA0500 | 50 | 42 | 7.5 | TDA1250 | 125 | 110 | 13 | TDA3200 | 320 | 300 | 17 | ||
| TDA0550 | 55 | 45 | 7.5 | TDA1300 | 130 | 115 | 13 | TDA3500 | 350 | 320 | 21 | ||
| TDA0600 | 60 | 45 | 13 | TDA1400 | 140 | 120 | 13 | TDA3700 | 370 | 345 | 17 | ||
| TDA0630 | 63 | 53 | 8.5 | TDA1450 | 145 | 125 | 13 | TDA3800 | 380 | 350 | 21 | ||
| TDA0630A | 63 | 48 | 13 | TDA1500 | 150 | 130 | 13 | TDA3900 | 390 | 360 | 21 | ||
| TDA0650 | 65 | 50 | 8.5 | TDA1600 | 160 | 140 | 13 | TDA4100 | 410 | 380 | 21 | ||
| TDA0650A | 65 | 50 | 13 | TDA1600A | 160 | 140 | 17 | TDA4300 | 430 | 400 | 21 | ||
| TDA0700 | 70 | 55 | 13 | TDA1700 | 170 | 150 | 17 | TDA4500 | 450 | 420 | 21 | ||
| TDA0750 | 75 | 60 | 13 | TDA1800 | 180 | 160 | 17 | TDA4800 | 480 | 450 | 21 | ||
| TDA0800 | 80 | 65 | 13 | TDA1900 | 190 | 170 | 17 | TDA5000 | 500 | 475 | 17 | ||
| TDA0850 | 85 | 70 | 13 | TDA2000 | 200 | 180 | 17 | TDA5100 | 510 | 480 | 21 | ||
| TDA0900 | 90 | 75 | 13 | TDA2100 | 210 | 190 | 17 | TDA5900 | 590 | 560 | 21 | ||
| TDA0950 | 95 | 80 | 13 | TDA2200 | 220 | 200 | 17 | TDA6000 | 600 | 570 | 21 | ||
| TDA1000 | 100 | 85 | 13 | TDA2250 | 225 | 205 | 17 | TDA6700 | 670 | 640 | 21 | ||
| TDA1100 | 110 | 95 | 13 | TDA2500 | 250 | 230 | 17 |
|
|
|
|
||
| Tabhair faoi deara: Mura bhfuil na sonraíochtaí riachtanacha sa tábla seo, déan teagmháil linn. | |||||||||||||
| Toisí suiteála |
|
|
|
|
|
|
|
|
|
|
|
Fad Chamfer | |||||
| Sorcóir trastomhas8 | Groove íochtair trasteorann9 | Leithead sliotán L+0.2 | Airde séala H |
|
|
Raon trastomhas sorcóra | Fad Chamfer E≥ | ||||||||||
| 40-120 | D-10 | 16 | 15 |
|
|
40-124 | 7 | ||||||||||
| 121-300 | D-12 | 16 | 15 |
|
|
125-299 | 10 | ||||||||||
| 301-380 | D-14 | 16 | 15 |
|
|
300-630 | 15 | ||||||||||
| > 380 | D-16 | 16 | 15 |
|
|
||||||||||||
|
|
|
|
|
|
|
|
|
||||||||||
| Uimhir ordaithe | Dh8 | Dh9 | L+0.2 |
|
Uimhir ordaithe | Dh8 | Dh9 | L+0.2 |
|
Uimhir ordaithe | Dh8 | Dh9 | L+0.2 | ||||
| TDMA0400 | 40 | 30 | 16 | TDMA1150 | 115 | 105 | 16 | TDMA2500 | 250 | 238 | 16 | ||||||
| TDMA0450 | 45 | 35 | 16 | TDMA1200 | 120 | 110 | 16 | TDMA2800 | 280 | 268 | 16 | ||||||
| TDMA0500 | 50 | 40 | 16 | TDMA1250 | 125 | 113 | 16 | TDMA3000 | 300 | 288 | 16 | ||||||
| TDMA0550 | 55 | 45 | 16 | TDMA1300 | 130 | 118 | 16 | TDMA3200 | 320 | 306 | 16 | ||||||
| TDMA0560 | 56 | 46 | 16 | TDMA1350 | 135 | 123 | 16 | TDMA3500 | 350 | 336 | 16 | ||||||
| TDMA0600 | 60 | 50 | 16 | TDMA1400 | 140 | 128 | 16 | TDMA3800 | 380 | 366 | 16 | ||||||
| TDMA0630 | 63 | 53 | 16 | TDMA1500 | 150 | 138 | 16 | TDMA4000 | 400 | 384 | 16 | ||||||
| TDMA0650 | 65 | 55 | 16 | TDMA1600 | 160 | 148 | 16 | TDMA4200 | 420 | 404 | 16 | ||||||
| TDMA0700 | 70 | 60 | 16 | TDMA1700 | 170 | 158 | 16 | TDMA4500 | 450 | 434 | 16 | ||||||
| TDMA0750 | 75 | 65 | 16 | TDMA1800 | 180 | 168 | 16 | TDMA4800 | 480 | 464 | 16 | ||||||
| TDMA0800 | 80 | 70 | 16 | TDMA1900 | 190 | 178 | 16 | TDMA5000 | 500 | 484 | 16 | ||||||
| TDMA0850 | 85 | 75 | 16 | TDMA2000 | 200 | 188 | 16 | TDMA5600 | 560 | 544 | 16 | ||||||
| TDMA0900 | 90 | 80 | 16 | TDMA2100 | 210 | 198 | 16 | TDMA6000 | 600 | 584 | 16 | ||||||
| TDMA1000 | 100 | 90 | 16 | TDMA2200 | 220 | 208 | 16 | TDMA6300 | 630 | 614 | 16 | ||||||
| TDMA1100 | 110 | 100 | 16 | TDMA2250 | 225 | 213 | 16 |
|
|
|
|
||||||
| Nóta: Níl na sonraíochtaí riachtanacha sa tábla seo, ach is féidir iad a tháirgeadh freisin. Déan teagmháil linn le do thoil. | |||||||||||||||||
| Toisí suiteála |
|
|
|
|
|
|
Fad Chamfer | |||||||
|
|
|
|
|
Raon trastomhas sorcóra | Fad Chamfer E≥ | |||||||||
|
|
|
|
|
|
<99 | 7 | ||||||||
| Trastomhas sorcóra Dh8 | Trastomhas bun groove Dh9 | Leithead sliotán L+0.2 | Airde séala H |
|
100-199 | 10 | ||||||||
| <96 | D-16.8 | 8 | 7.5 |
|
||||||||||
| 96-190 | D-20 | 10 | 9.5 |
|
200-309 | 12 | ||||||||
| 191-380 | D-28 | 13 | 12.5 |
|
310-559 | 15 | ||||||||
| > 380 | D-36 | 20 | 19.5 |
|
> 599 | 18 | ||||||||
|
|
|
|
|
|
|
|
||||||||
| Uimhir ordaithe | D H8 | D H9 | L+0.2 |
|
Uimhir ordaithe | D H8 | D H9 | L+0.2 |
|
Uimhir ordaithe | D H8 | D H9 | L+0.2 | |
| GGDA0400 | 40 | 23.2 | 8 | GGDA1050 | 105 | 85 | 10 | GGDA2500 | 250 | 222 | 13 | |||
| GGDA0450 | 45 | 28.2 | 8 | GGDA1100 | 110 | 90 | 10 | GGDA2800 | 280 | 252 | 13 | |||
| GGDA0500 | 50 | 33.2 | 8 | GGDA1150 | 115 | 95 | 10 | GGDA3000 | 300 | 272 | 13 | |||
| GGDA0550 | 55 | 38.2 | 8 | GGDA1200 | 120 | 100 | 10 | GGDA3200 | 320 | 292 | 13 | |||
| GGDA0560 | 56 | 39.2 | 8 | GGDA1250 | 125 | 105 | 10 | GGDA3500 | 350 | 322 | 13 | |||
| GGDA0600 | 60 | 43.2 | 8 | GGDA1300 | 130 | 110 | 10 | GGDA3800 | 380 | 352 | 13 | |||
| GGDA0630 | 63 | 46.2 | 8 | GGDA1350 | 135 | 115 | 10 | GGDA4000 | 400 | 364 | 20 | |||
| GGDA0650 | 65 | 48.2 | 8 | GGDA1400 | 140 | 120 | 10 | GGDA4200 | 420 | 384 | 20 | |||
| GGDA0700 | 70 | 53.2 | 8 | GGDA1500 | 150 | 130 | 10 | GGDA4500 | 450 | 414 | 20 | |||
| GGDA0750 | 75 | 58.2 | 8 | GGDA1600 | 160 | 140 | 10 | GGDA4800 | 480 | 444 | 20 | |||
| GGDA0800 | 80 | 63.2 | 8 | GGDA1700 | 170 | 150 | 10 | GGDA5000 | 500 | 464 | 20 | |||
| GGDA0850 | 85 | 68.2 | 8 | GGDA1800 | 180 | 160 | 10 | GGDA5600 | 560 | 524 | 20 | |||
| GGDA0900 | 90 | 73.2 | 8 | GGDA1900 | 190 | 170 | 10 | GGDA6000 | 600 | 564 | 20 | |||
| GGDA0950 | 95 | 78.2 | 8 | GGDA2000 | 200 | 172 | 13 | GGDA6300 | 630 | 594 | 20 | |||
| GGDA1000 | 100 | 80 | 10 | GGDA2200 | 220 | 192 | 13 |
|
|
|
|
|||
| Nóta: Níl na sonraíochtaí riachtanacha sa tábla seo, ach is féidir iad a tháirgeadh freisin. Déan teagmháil linn le do thoil. Is é an táirge uasta atá ar fáil ná 1600mm. | ||||||||||||||
| Bearna easbhrú |
|
|
|
|
|
|
|
|
|
|
|
||
| Brú MPA | Bearna easbhrúite smax |
|
|
|
|||||||||
| Trastomhas sorcóra D≤60mm | Trastomhas sorcóra D> 60mm |
|
|
|
|||||||||
| ≤5 | 0.4 | 0.5 |
|
|
|
||||||||
| ≤10 | 0.3 | 0.5 |
|
|
|
||||||||
| ≤20 | 0.2 | 0.3 |
|
|
|
||||||||
| ≤30 | 0.15 | 0.2 |
|
|
|
||||||||
| ≤40 | 0.1 | 0.15 |
|
|
|
||||||||
| Cairt méide | |||||||||||||
| Uimhir táirge | D | d | H | L | D1 |
|
Uimhir táirge | D | d | H | L | D1 | |
| RCUP30*15*9.5 | 30 | 15 | 9.5 | 10.5 | 18 | RCUP40*32*5.5 | 40 | 32 | 5.5 | 6.5 | 35 | ||
| RCUP30*15*10 | 30 | 15 | 10 | 11 | 19 | RCUP40*32*8 8 | 40 | 32 | 8 | 9 | 35 | ||
| RCUP30*20*8 8 | 30 | 20 | 8 | 9 | 24 | RCUP40*33*8 8 | 40 | 33 | 8 | 9 | 36 | ||
| RCUP30*22*6.5 | 30 | 22 | 6.5 | 7 | 25 | RCUP45*30*10 | 45 | 30 | 10 | 11 | 35 | ||
| RCUP35*20*10 | 35 | 20 | 10 | 11 | 25 | RCUP50*30*12 | 50 | 30 | 12 | 13 | 35 | ||
| RCUP35*25*8 8 | 35 | 25 | 8 | 9 | 29 | RCUP50*32*10 | 50 | 32 | 10 | 11 | 35 | ||
| RCUP35*27*10 | 35 | 27 | 10 | 11 | 30 | RCUP50*35*8.5 | 50 | 35 | 8.5 | 9.5 | 40 | ||
| RCUP40*25*10 | 40 | 25 | 10 | 11 | 30 | RCUP50*35*10 | 50 | 35 | 10 | 11 | 40 | ||
| RCUP40*30*6.5 | 40 | 30 | 6.5 | 7.5 | 34 | RCUP50*40*5 | 50 | 40 | 5 | 5.5 | 44 | ||
| RCUP40*30*10 | 40 | 30 | 10 | 11 | 34 | RCUP50*40*8 | 50 | 40 | 8 | 9 | 43 | ||
| Uimhir táirge | D | d | H | L1 | L2 | T |
|
Uimhir táirge | D | d | H | L1 | L2 | T |
| Yxd11*5*8 8 | 11 | 5 | 8 | 9 | 10.5 | 1.5 | Yxd55*47*10 | 55 | 47 | 10 | 12 | 13.5 | 1.5 | |
| Yxd12*6*8 8 | 12 | 6 | 8 | 9 | 10.5 | 1.5 | Yxd56 * 48 * 10 | 56 | 48 | 10 | 12 | 13.5 | 1.5 | |
| Yxd14*8*8 8 | 14 | 8 | 8 | 9 | 10.5 | 1.5 | Yxd60 * 48 * 14 | 60 | 48 | 14 | 16 | 18 | 2 | |
| Yxd16*10*8 8 | 16 | 10 | 8 | 9 | 10.5 | 1.5 | Yxd63*51*14 | 63 | 51 | 14 | 16 | 18 | 2 | |
| Yxd18*12*8 8 | 18 | 12 | 8 | 9 | 10.5 | 1.5 | Yxd65 * 53 * 14 | 65 | 53 | 14 | 16 | 18 | 2 | |
| Yxd20*14*8 | 20 | 14 | 8 | 9 | 10.5 | 1.5 | Yxd70*58*14 | 70 | 58 | 14 | 16 | 18 | 2 | |
| Yxd22*16*8 8 | 22 | 16 | 8 | 9 | 10.5 | 1.5 | Yxd75*63*14 | 75 | 63 | 14 | 16 | 18 | 2 | |
| Yxd24*18*8 8 | 24 | 18 | 8 | 9 | 10.5 | 1.5 | Yxd78*66*14 | 78 | 66 | 14 | 16 | 18 | 2 | |
| Yxd25*19*8 8 | 25 | 19 | 8 | 9 | 10.5 | 1.5 | Yxd80 * 68 * 14 | 80 | 68 | 14 | 16 | 18 | 2 | |
| Yxd28*22*8 8 | 28 | 22 | 8 | 9 | 10.5 | 1.5 | Yxd85 * 73 * 14 | 85 | 73 | 14 | 16 | 18 | 2 | |
| Yxd30*22*10 | 30 | 22 | 10 | 12 | 13.5 | 1.5 | Yxd90*78*14 | 90 | 78 | 14 | 16 | 18 | 2 | |
| Yxd32*24*10 | 32 | 24 | 10 | 12 | 13.5 | 1.5 | Yxd95*83*14 | 95 | 83 | 14 | 16 | 18 | 2 | |
| Yxd35*27*10 | 35 | 27 | 10 | 12 | 13.5 | 1.5 | Yxd100*88*14 | 100 | 88 | 14 | 16 | 18 | 2 |



























































































































Seoladh
Uimh.1 Bóthar Ruichen, Páirc Tionscail Dongliuting, Chengyang Dúiche, Cathair Qingdao, Cúige Shandong, an tSín
Teil
R-phost