|
Brú/MPa |
Teocht / °C |
Luas /m/s |
Meánach |
|
≤40 |
-35~+100 (le O-fáinní NBR comhoiriúnach) |
≤2 |
Ola hiodrálacha, eibleacht, uisce, gás, etc. |
-20~+200 (le O-rings meaitseála FKM) |
1. Áirítear le hábhair oiriúnacha O-fáinne: R01 Rubair Bútaidhé-éin Nítríle (NBR), R02 Fluororubber (FKM), etc.
2. Ábhair fáinne séalaithe: Ábhair chaighdeánacha PTFE3 agus PTFE4; Áirítear le hábhair roghnacha eile PTFE1, PTFE2, agus PTFE5.
Tá taighde agus forbairt neamhspleách déanta ag Ruichen ó thús na n-amhábhar, ag rialú slabhra iomlán na dtáirgí a bhaint amach.
1. Plaistigh innealtóireachta agus ábhair chomhchodacha: Glacann muid polytetrafluoroethylene (PTFE) mar chroílár, ó mheascadh, shintéiriú go múnlú, táirgeadh neamhspleách de gach cineál líonta ábhar ilchodach modhnaithe feadán agus slat, agus ansin próiseáil beacht i rónta. Cinntíonn sé seo cobhsaíocht agus customizability airíonna ábhar.
2. Leaistiméire polúireatán ardfheidhmíochta: Tosaímid ó réitigh prepolymer, táirgeann muid ábhair phíopaí polúireatán agus slat ard-chaighdeán go neamhspleách, agus próiseáiltear iad i gcineálacha éagsúla rónta, atá gan íoc i friotaíocht caitheamh, friotaíocht brú agus friotaíocht hidrealú.
Sampla Ordaithe
Samhail Ordaithe RC2054-80×69×4.2-PTFE3-R01 Samhail-D*d*L- Samhail Ordú Cód Ábhar RCX18—80×69x4.2-HPU Samhail-D*d*L- Cód Ábhar
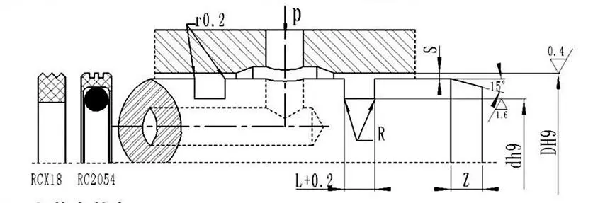
Tábla sonraíochtaí agus paraiméadair (tá aon sonraíocht laistigh den raon paraiméadair ar fáil)
|
Raon Cró DH9 |
Trastomhas trinse dh9 |
Leithead trinse L+0.2 |
Imréiteach gathacha Smax |
Coirnéil chothromú Rmax |
Chamfer Zmin |
|
|
0~10Mpa |
10~20Mpa |
|||||
|
8~39 |
D-4.9 |
2.2 |
0.15 |
0.1 |
0.4 |
2 |
|
40~79 |
D-7.5 |
3.2 |
0.2 |
0.15 |
0.6 |
3 |
|
80~132 |
D-11.0 |
4.2 |
0.25 |
0.2 |
1.0 |
4 |
|
133~329 |
D-15.5 |
6.3 |
0.3 |
0.25 |
1.3 |
5 |
|
330~669 |
D-21.0 |
8.1 |
0.3 |
0.25 |
1.8 |
7 |
|
670~1500 |
D-28.0 |
9.5 |
0.45 |
0.3 |
2.0 |
8 |
|
D |
d |
L |
D |
d |
L |
D |
d |
L |
D |
d |
L |
|
8 |
3.1 |
2.2 |
50 |
42.5 |
3.2 |
170 |
154.5 |
6.3 |
380 |
359.0 |
8.1 |
|
10 |
5.1 |
2.2 |
55 |
47.5 |
3.2 |
180 |
164.5 |
6.3 |
390 |
369.0 |
8.1 |
|
12 |
7.1 |
2.2 |
60 |
52.5 |
3.2 |
190 |
174.5 |
6.3 |
400 |
379.0 |
8.1 |
|
14 |
9.1 |
2.2 |
63 |
55.5 |
3.2 |
200 |
184.5 |
6.3 |
420 |
399.0 |
8.1 |
|
15 |
10.1 |
2.2 |
65 |
57.5 |
3.2 |
210 |
194.5 |
6.3 |
450 |
429.0 |
8.1 |
|
16 |
11.1 |
2.2 |
70 |
62.5 |
3.2 |
220 |
204.5 |
6.3 |
480 |
459.0 |
8.1 |
|
18 |
13.1 |
2.2 |
75 |
67.5 |
3.2 |
230 |
214.5 |
6.3 |
500 |
479.0 |
8.1 |
|
20 |
15.1 |
2.2 |
80 |
69.0 |
4.2 |
240 |
224.5 |
6.3 |
520 |
499.0 |
8.1 |
|
22 |
17.1 |
2.2 |
85 |
74.0 |
4.2 |
250 |
234.5 |
6.3 |
550 |
529.0 |
8.1 |
|
24 |
19.1 |
2.2 |
90 |
79.0 |
4.2 |
260 |
244.5 |
6.3 |
600 |
579.0 |
8.1 |
|
25 |
20.1 |
2.2 |
95 |
84.0 |
4.2 |
270 |
254.5 |
6.3 |
630 |
609.0 |
8.1 |
|
28 |
23.1 |
2.2 |
100 |
89.0 |
4.2 |
280 |
264.5 |
6.3 |
650 |
629.0 |
8.1 |
|
30 |
25.1 |
2.2 |
105 |
94.0 |
4.2 |
290 |
274.5 |
6.3 |
670 |
642.0 |
9.5 |
|
32 |
27.1 |
2.2 |
110 |
99.0 |
4.2 |
300 |
284.5 |
6.3 |
700 |
672.0 |
9.5 |
|
35 |
30.1 |
2.2 |
115 |
104.0 |
4.2 |
310 |
294.5 |
6.3 |
750 |
722.0 |
9.5 |
|
36 |
31.1 |
2.2 |
120 |
109.0 |
4.2 |
320 |
304.5 |
6.3 |
800 |
772.0 |
9.5 |
|
38 |
33.1 |
2.2 |
125 |
114.0 |
4.2 |
330 |
309.0 |
8.1 |
1000 |
972.0 |
9.5 |
|
40 |
32.5 |
3.2 |
130 |
119.0 |
4.2 |
340 |
319.0 |
8.1 |
|
|
|
|
42 |
34.5 |
3.2 |
140 |
124.5 |
6.3 |
350 |
329.0 |
8.1 |
|
|
|
|
45 |
37.5 |
3.2 |
150 |
134.5 |
6.3 |
360 |
339.0 |
8.1 |
|
|
|
|
48 |
40.5 |
3.2 |
160 |
144.5 |
6.3 |
370 |
349.0 |
8.1 |
|
|
|
Nóta: Níl na sonraíochtaí riachtanacha liostaithe anseo; téigh i dteagmháil lenár gcuideachta. Cuirimid táirgí ar fáil le trastomhas uasta de 2800mm.



Seoladh
Uimh.1 Bóthar Ruichen, Páirc Tionscail Dongliuting, Chengyang Dúiche, Cathair Qingdao, Cúige Shandong, an tSín
Teil
R-phost