|
Brú/MPa |
Teocht / °C |
Luas /m/s |
Meánach |
|
≤40 |
-35~+100 (le NBR O-ring) |
≤2 |
Ola hiodrálacha, eibleacht, uisce, gás, etc. |
|
-20~+200 (le FKM O-ring) |
1. Ábhair O-fáinne atá ar fáil: R01 Rubair Bútaidhé-éin Nítríle (NBR), R02 Fluororubber (FKM), etc.
2. Ábhair fáinne séalaithe: Ábhair chaighdeánacha PTFE3 agus PTFE4; Áirítear le hábhair roghnacha eile PTFE1, PTFE2, agus PTFE5.
Sampla Ordaithe
Samhail Ordaithe RC2052-80x91×4.2-PTFE3-R01 Samhail-dxDxL- Cód Ábhar
Samhail Ordaithe RCX17—80x91×4.2—HPU Model-dxDxL- Cód Ábhar
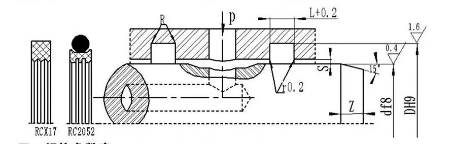
Tábla sonraíochtaí agus paraiméadair (tá aon sonraíocht laistigh den raon paraiméadair ar fáil)
|
Raon trastomhas seafta d f8 |
Trastomhas trinse DH9 |
Leithead trinse L+⁰.2 |
Imréiteach gathacha Smax |
Coirnéil chothromú Rmax |
Chamfer Zmin |
|
|
0~10Mpa |
10~20Mpa |
|||||
|
6~18 |
d+49 |
2.2 |
0.15 |
0.1 |
0.4 |
2 |
|
19~37 |
d+7.5 |
3.2 |
0.2 |
0.15 |
0.6 |
3 |
|
38~199 |
d+11.0 |
4.2 |
0.25 |
0.2 |
1.0 |
4 |
|
200~255 |
d+15.5 |
6.3 |
0.3 |
0.25 |
1.3 |
5 |
|
256~649 |
d+21.0 |
8.1 |
0.3 |
0.25 |
1.8 |
7 |
|
650~1500 |
d+28.0 |
9.5 |
0.45 |
0.3 |
2.0 |
8 |
Nóta: Maidir le trastomhais seafta ≤ 30mm, moltar grooves oscailte.
|
d |
D |
L |
d |
D |
L |
d |
D |
L |
d |
D |
L |
|
8 |
12.9 |
2.2 |
48 |
59.0 |
4.2 |
150 |
161.0 |
4.2 |
350 |
371.0 |
8.1 |
|
10 |
14.9 |
2.2 |
50 |
61.0 |
4.2 |
160 |
171.0 |
4.2 |
360 |
381.0 |
8.1 |
|
12 |
16.9 |
2.2 |
55 |
66.0 |
4.2 |
170 |
181.0 |
4.2 |
370 |
391.0 |
8.1 |
|
14 |
18.9 |
2.2 |
60 |
71.0 |
4.2 |
180 |
191.0 |
4.2 |
380 |
401.0 |
8.1 |
|
15 |
19.9 |
2.2 |
63 |
74.0 |
4.2 |
190 |
201.0 |
4.2 |
390 |
411.0 |
8.1 |
|
16 |
20.9 |
2.2 |
65 |
76.0 |
4.2 |
200 |
215.5 |
6.3 |
400 |
421.0 |
8.1 |
|
18 |
22.9 |
2.2 |
70 |
81.0 |
4.2 |
210 |
225.5 |
6.3 |
420 |
441.0 |
8.1 |
|
20 |
27.5 |
3.2 |
75 |
86.0 |
4.2 |
220 |
235.5 |
6.3 |
450 |
471.0 |
8.1 |
|
22 |
29.5 |
3.2 |
80 |
91.0 |
4.2 |
230 |
245.5 |
6.3 |
480 |
501.0 |
8.1 |
|
24 |
31.5 |
3.2 |
85 |
96.0 |
4.2 |
240 |
255.5 |
6.3 |
500 |
521.0 |
8.1 |
|
25 |
32.5 |
3.2 |
90 |
101.0 |
4.2 |
250 |
265.5 |
6.3 |
520 |
541.0 |
8.1 |
|
28 |
35.5 |
3.2 |
95 |
106.0 |
4.2 |
260 |
281.0 |
8.1 |
550 |
571.0 |
8.1 |
|
30 |
37.5 |
3.2 |
100 |
111.0 |
4.2 |
270 |
291.0 |
8.1 |
600 |
621.0 |
8.1 |
|
32 |
39.5 |
3.2 |
105 |
116.0 |
4.2 |
280 |
301.0 |
8.1 |
630 |
651.0 |
8.1 |
|
35 |
42.5 |
3.2 |
110 |
121.0 |
4.2 |
290 |
311.0 |
8.1 |
650 |
678.0 |
8.1 |
|
36 |
43.5 |
3.2 |
115 |
126.0 |
4.2 |
300 |
321.0 |
8.1 |
670 |
698.0 |
9.5 |
|
38 |
49.0 |
4.2 |
120 |
131.0 |
4.2 |
310 |
331.0 |
8.1 |
700 |
728.0 |
9.5 |
|
40 |
51.0 |
4.2 |
125 |
136.0 |
4.2 |
320 |
341.0 |
8.1 |
750 |
778.0 |
9.5 |
|
42 |
53.0 |
4.2 |
130 |
141.0 |
4.2 |
330 |
351.0 |
8.1 |
800 |
828.0 |
9.5 |
|
45 |
56.0 |
4.2 |
140 |
151.0 |
4.2 |
340 |
361.0 |
8.1 |
1000 |
1028.0 |
9.5 |
Nóta: Níl na sonraíochtaí riachtanacha liostaithe anseo; téigh i dteagmháil lenár gcuideachta. Cuirimid táirgí ar fáil le trastomhas uasta de 2800mm.





Treoracha suiteála agus úsáide uile-bhabhta
Tá a fhios ag Rui Chen gurb é suiteáil cheart an chéad réamhriachtanas chun feidhmíocht iomlán na rónta a chinntiú, tabharfaimid treoir chuimsitheach duit freisin maidir le húsáid gach táirge, go háirithe páirteanna casta nó neamhchaighdeánacha saincheaptha, beidh treoir mhionsonraithe grafach suiteála.
Tá léaráidí céim ar chéim ard-sainmhínithe agus treoracha téacs ag gabháil leis na treoracha seo a thaispeánann go soiléir na pointí iniúchta roimh an suiteáil, na céimeanna suiteála cearta, na huirlisí is gá agus na hoibríochtaí mícheart a chaithfear a sheachaint, amhail is dá mbeadh ár n-innealtóirí ar an láthair. Ina theannta sin, le haghaidh tionóil nó córais casta, cruthaímid ranganna teagaisc físe gairmiúla a ligeann d'oibreoirí teicnící suiteála agus réamhchúraimí a mháistir go hintuigiúil agus go tapa trí thaispeántais dhinimiciúla, rud a laghdóidh go mór an baol go dtarlóidh teip go luath mar gheall ar shuiteáil míchuí.
Seoladh
Uimh.1 Bóthar Ruichen, Páirc Tionscail Dongliuting, Chengyang Dúiche, Cathair Qingdao, Cúige Shandong, an tSín
Teil
R-phost